声频动力头回转马达径向自由运动的危害及对策研究
Study on the Hazard of Radial Free Movement of Acoustic Frequency Power Head Rotary Motor
DOI: 10.12677/met.2024.136057, PDF, HTML, XML,   
作者: 张福海, 赵晓冬, 吴 浩, 田英材:中国煤炭地质总局第二勘探局,北京;中国地质学会资源勘查钻探技术与装备创新基地,北京
关键词: 声频动力头径向自由运动定位防松结构螺栓松动蠕变断裂Sound Frequency Power Head Radial Free Movement Positioning Anti-Loosening Structure Loose Bolt Creep Fracture
摘要: 针对声频动力头回转马达紧固螺栓出现松动、断裂等问题,分析螺栓松动、断裂的原因为径向配合度较松、马达存在较大径向自由运动空间所致。在高频振动工况下,径向配合度较松会加速螺栓的松动及断裂,为此研制了一种定位防松结构,限制马达与框架间的径向运动。经试验及工程化取样验证,解决了螺栓松动、蠕变断裂问题,达到预期效果。
Abstract: In view of the problems of loosening and fracture of the fastening bolts of the acoustic power head rotary motor, the reasons for the loosening and fracture are loose radial coordination and large radial free movement space of the motor. Under high-frequency vibration conditions, the loose radial coordination will accelerate the loosening and fracture of the bolt, so a positioning and anti-loosening structure is developed to limit the radial motion between the motor and the frame. After the test and engineering sampling verification, the problems of bolt loosening and creep fracture are solved, and the expected effect is achieved.
文章引用:张福海, 赵晓冬, 吴浩, 田英材. 声频动力头回转马达径向自由运动的危害及对策研究[J]. 机械工程与技术, 2024, 13(6): 491-498. https://doi.org/10.12677/met.2024.136057

1. 引言

声频环保钻机不用泥浆、水及泡沫等循环介质,采用高频振动钻进,具有钻进速度快、取样率高、取样直径大、样品无扰动等优势,广泛应用于土壤环境调查取样、尾矿库勘察、水利工程地质勘察等领域。近年来,声频环保钻机应用范围不断扩展,在螺旋地能桩基施工、环境监测井建造等领域,取得了良好的使用效果[1]

声频动力头是该钻机的关键核心部件(见图1),主要包括低速大扭矩回转马达、高速马达、减振联轴器、轴承等成品件,以及动力头箱体、主轴、偏心振子、减震块等关键加工件。并由此构成声频动力头回转机构和振动机构。回转机构通过低速大扭矩回转马达、减振联轴器和主轴带动钻杆实现回转钻进动作,振动机构通过高速马达驱动偏心振子产生高频振动实现振动钻进动作。因此,声频动力头具有回转钻进、振动钻进及回转加振动钻进三种钻进工作方式。在实际工作中,发生了低速大扭矩回转马达紧固螺栓松动、蠕变断裂现象,影响了钻机的使用性能。

Figure 1. Acoustic frequency power head

1. 声频动力头

2. 声频动力头回转马达紧固螺栓松动破坏现象

通过日常钻探施工发现声频动力头回转马达出现松动现象,在黏土层和砂层钻进时尤为明显。因此进行了黏土层和砂层的钻进测试,测试结果见表1表2所示。

Table 1. Drilling test of the drilling layer

1. 声频环保钻机黏土层钻进测试表

地层

单次进尺深度(m)

累计进尺深度(m)

压力(MPa)

振动频率(Hz)

单次用时间(s)

状态

黏土

1.5

1.5

8

55

60.5

完好

黏土

1.5

3

8

55

70

完好

黏土

1.5

4.5

10

60

80

螺栓微松

黏土

1.5

6

11

65

90

螺栓松动间隙大

黏土

1.5

7.5

12

70

120

螺栓松动间隙过大

Table 2. Drilling test table for coarse sand layer

2. 声频环保钻机粗砂层钻进测试表

地层

单次进尺深度(m)

累计进尺深度(m)

压力(MPa)

振动频率(Hz)

单次用时间(s)

螺栓微松

粗砂

1.5

1.5

13

75

90

螺栓松动间隙过大

粗砂

1.5

3

13

75

95

人工紧固

粗砂

1.5

4.5

15

85

120

螺栓松动间隙过大

粗砂

1.5

6

17

90

135

螺栓断裂1根

粗砂

1.5

7.5

19

100

150

更换后仍然松动

据上表统计,动力头进行长时间的高频振动钻进工作后,会反复出现了螺栓松动断裂的现象。

3. 紧固螺栓松动断裂的影响

3.1. 埋钻

紧固螺栓直接承受高频振动力和扭转剪切力的复合载荷,预紧力很快得到释放,紧固螺栓自行反旋卸载,导致螺栓松动。随着松动程度的增大,无法输出有效扭矩,进而无法带动钻杆钻具进行回转钻进,回转钻进突然停止容易造成埋钻事故。

3.2. 安全隐患

Figure 2. The bolt is broken in the hole

2. 螺栓断折在孔内

紧固螺栓受到高频振动力和扭转剪切力的复合载荷,螺栓机械性能发生疲劳,屈服强度和抗拉强度降低,出现紧固螺栓断裂现象[2]。断裂的螺栓不定向飞射弹出,容易伤害现场工作人员,造成安全事故。断头螺栓维修困难,见图2

3.3. 经济损失

紧固螺栓松动断裂后,造成现场停工几小时甚至几天,增加了生产成本,降低了施工效率,造成经济损失。

4. 回转马达紧固螺栓松动破坏原因分析

对紧固螺栓松动断裂的原因进行分析,主要有螺栓强度不够和结构设计缺陷两个方面。

4.1. 螺栓强度原因分析

钻进取样过程中,声频动力头回转马达频繁受到回转振动的复合载荷作用,导致回转马达与安装框架内孔之间的径向间隙逐步增大,会造成紧固螺栓的松动及断裂[3] [4]。因此对螺栓强度做如下校核:

声频动力头最大振动频率105 Hz,最大激振力为330 kN,动力头传递到框架的隔振系数一般取0.2,框架受到的最大激振力为330 * 0.2 = 66 kN,框架上布置了5条M14的螺栓,每条螺栓受到的轴向力为66/5 = 13.2 kN。

螺栓采用35 SiMn合金钢,许用应力 [ σ ]= σs/S = 735/4 =184 MPa

1.3 F a π d 1 2 /4 [ σ ] (1)

式(1)中:

Fa——螺栓受到的轴向力;

d1——螺栓小径;

[ σ ] ——许用应力;

M14螺栓小径d1 = 12.376 mm,代入式(1)得:

143 MPa < 184 MPa,螺栓满足强度要求。

4.2. 回转马达止口设计缺陷

固定框架与马达固定法兰止口间隙过大,在持续振动和扭转剪切荷载的作用下,回转马达安装框架内孔环面与马达法兰止口环面之间的间隙逐步增大,同步增大回转马达产生径向自由运动的空间[5] [6],会造成螺栓松动和断裂的发生。

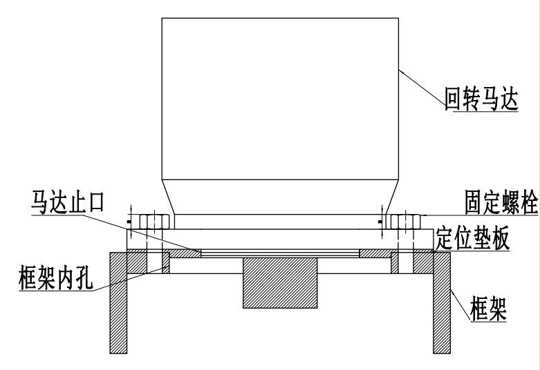
5. 声频动力头回转马达定位防松结构研制

5.1. 定位防松结构分析

针对上述紧固螺栓的松动、断裂问题,在框架满足结构力学设计合理基础上[7],对其松动部位采用加装防松垫片、侧面安置紧固螺栓定位、紧固螺栓配钻孔穿开口销等各种措施,均无明显效果。

通过查阅资料和试验摸索,设计了一种定位防松结构[3],即在回转马达法兰和固定框架之间加装定位垫板,通过安装座(定位垫板)消除径向自由运动的空间,大幅降低高频振动对螺栓造成的破坏。

定位垫板设置有内、外同心定位止环,定位垫板位于安装框架本体上方,定位垫板通过其外环止口嵌入框架内孔,定位垫板与马达法兰同心,马达法兰止口嵌入定位垫板内止环。马达、定位垫板、框架依次铰接定位。定位防松结构布局见图3

Figure 3. Positioning and the layout of the anti-loosening structure

3. 定位防松结构布局

5.2. 定位垫板材料选择和设计

Table 3. Table of material performance differences

3. 材料性能差异表

材料项目

密度g/cm3

材质强度

抗形变能力

成本元/吨

抗振动测试

中碳钢

7.82

4550

铜质

8.96

75000

锰钢

8.0

10000

中等

镍钴合金

9.4

120000

中等

生铁

7.3

中等

中等

3390

表3,依据上表对比确定采用中碳钢材料,设置有内外环,内外环严格同心度,公差带配合0.05 mm,粗糙度Ra1.6,内环严格控制与回转马达固定止环同心度,外环严格控制与框架内孔同心度,顶端形成一个整体平垫面,垫面紧紧连接内外止环形成一个整体,使回转马达、框架通过定位垫板铰接在一起,消除了径向自由运动空间,增加了马达安装法兰与框架预紧力接触面摩擦面积,大幅提高了摩擦扭矩,大幅吸收了高频振动作用在回转马达法兰的冲击功,消除了振动能量对螺栓的重复拉拔破坏和蠕变剪切作用,见图4

Figure 4. Positioning the pad

4. 定位垫板

5.3. 使用定位垫板后配合尺寸分析

原马达法兰止口数据(YM): ϕ 265 0.05 0

原固定框架内环数据(YK): ϕ 280 mm;

改进后马达法兰止口数据(GM): ϕ 265 0.05 0

改进后固定框架内环数据(GK): ϕ 265 +0 +0.05

原框架内环数据–原法兰止口数据单边缩小量:7.5 mm;

原框架与改进后法兰接触面积增加数据:6417.375 mm2

综上可见,动力头输出能量数据不变;固定框架内环改进后单边缩小了7.5 mm,提高了配合度,消除了框架内环与马达法兰止口径向自由运动空间;改进后固定框架与马达法兰接触面积增加了6417.375 mm²,增大了对振动能量的吸收,同步增大抗扭矩力,大幅度削减了高频振动作用在紧固螺栓本体的拉拔力和蠕变剪切力,保障了紧固螺栓安全。

6. 安装使用效果

将回转马达与定位垫板组装,再将组装好的回转马达与定位垫板装入框架,通过紧固螺栓将马达、定位垫板、框架紧固在一起,见图5所示。

(a) (b)

Figure 5. Installation and positioning of the anti-loosening structure. (a) Before installation; (b) After installation

5. 安装定位防松结构。(a) 安装前;(b) 安装后

声频动力头回转马达定位防松紧固新结构安装完毕后,经过工程测试,效果明显,紧固螺栓未产生松动、蠕变剪切情况。

7. 工程应用效果检验

增加防松抗剪切结构的声频动力头,在山东菏泽开展了场地调查取样应用测试。调查场地地质情况,地层自上而下依次为粉土、粉质粘土、粘质粉土、粘土、粗砂。测试现场采用了直径50 mm钻杆、直径89 mm岩芯管及直径108 mm半合管等钻具,综合使用振动钻进、振动回转钻进等工艺,地层测试统计如下见表4~8

Table 4. Drilling test of penvironmental drilling drilling

4. 声频环保钻机粉土层钻进测试表

地层

单次进尺深度(m)

累计进尺深度(m)

压力(MPa)

振动频率(Hz)

单次用时间(s)

状态

粉土

1.5

1.5

5

30

59

完好

粉土

1.5

3

5

30

60.3

完好

粉土

1.5

4.5

6

40

60.3

完好

粉土

1.5

6

6

40

75

完好

粉土

1.5

7.5

6

40

76

完好

Table 5. Test table of silty clay layer of acoustic environmental drilling rig

5. 声频环保钻机粉质黏土层测试表

地层

单次进尺深度(m)

累计进尺深度(m)

压力(MPa)

振动频率(Hz)

单次用时间(s)

状态

粉质黏土

1.5

1.5

6

40

59

完好

粉质黏土

1.5

3

6

40

60.3

完好

粉质黏土

1.5

4.5

7

50

60.5

完好

粉质黏土

1.5

6

7

50

70

完好

粉质黏土

1.5

7.5

8

55

80

完好

Table 6. Silty silt layer drilling test table

6. 声频环保钻机粉质粉土层钻进测试表

地层

单次进尺深度(m)

累计进尺深度(m)

压力(MPa)

振动频率(Hz)

单次用时间(s)

状态

粉质粉土

1.5

1.5

5

30

50

完好

粉质粉土

1.5

3

5

30

50

完好

粉质粉土

1.5

4.5

6

40

60.3

完好

粉质粉土

1.5

6

6

40

60.4

完好

粉质粉土

1.5

7.5

7

50

60.5

完好

Table 7. Drilling test table of clay layer

7. 声频环保钻机黏土层钻进测试表

地层

单次进尺深度(m)

累计进尺深度(m)

压力(MPa)

振动频率(Hz)

单次用时间(s)

状态

黏土

1.5

1.5

8

55

60.5

完好

黏土

1.5

3

8

55

70

完好

黏土

1.5

4.5

10

60

80

完好

黏土

1.5

6

11

65

90

完好

黏土

1.5

7.5

12

70

120

完好

Table 8. Drilling test for coarse sand layer

8. 声频环保钻机粗砂层钻进测试表

地层

单次进尺深度(m)

累计进尺深度(m)

压力(MPa)

振动频率(Hz)

单次用时间(s)

状态

粗砂

1.5

1.5

13

75

90

完好

粗砂

1.5

3

13

75

95

完好

粗砂

1.5

4.5

15

85

120

完好

粗砂

1.5

6

17

90

135

完好

粗砂

1.5

7.5

19

100

150

完好

获取了原状高保真地层样品。现场取样见图6

(a) (b) (c)

Figure 6. Field sampling. (a) Site drilling; (b) to obtain silt and clay samples; (c) to obtain sand samples

6. 现场取样。(a) 现场钻进;(b) 获取粉土、黏土样品;(c) 获取砂样

在工程应用钻进过程中回转马达未出现径向自由运动、未出现紧固螺栓松动及断裂现象,有效避免了多次的停机检修重复紧固螺栓工作,保证施工作业连续进行,提高了钻进效率和经济效益。同时减轻了操作工人的劳动强度,增强了安全生产可靠性,得到业内好评。

8. 总结

声频振动环保钻机是开展生态环境调查取样及工程勘察取样的一种新型勘探钻机,无需泥浆、水、泡沫介质,绿色环保,符合国家产业结构发展方向。通过在框架上加装定位防松安装座(定位垫板),调整固定框架内孔与马达固定法兰外径至极限孔配合,同步增加多层间隙配合,形成多层柔性孔间隙配合空间,避免了回转马达径向自由运动,柔性消除载荷蠕变,避免机械性疲劳,解决了紧固螺栓松动、断裂的问题,提高了声频钻机动力头稳定性、可靠性及钻探效率,降低了钻探成本,提高了经济效益,确保了生产安全,可为钻机应用同行提供有益借鉴。

参考文献

[1] 陈博文. 声频钻机空气隔振性能研究[D]: [硕士学位论文]. 北京: 中国地质大学(北京), 2020.
[2] 李艳, 冯德荣, 李召华. 螺栓双剪试验有限元分析[J]. 机械制造, 2021, 59(2): 75-78.
[3] 杜冬, 王士玮, 刘利刚. 基于机械结构的动态物体设计的研究进展[J]. 中国科学技术大学学报, 2017, 47(2): 99-116.
[4] 王瑜, 刘宝林, 周琴, 等. 基于双偏心轴驱动的声频振动钻机设计研究[J]. 中国机械工程, 2013, 24(17): 2386-2390.
[5] 张晓东, 鲍嘉威, 周瑞平. 某调距桨装置螺纹联接松动分析[J]. 中国修船, 2018, 31(2): 20-23+27.
[6] 夏毓芳, 杨少刚, 龚泽远, 等. 某自卸车怠速间歇振动改善研究[J]. 汽车科技, 2023(5): 53-58.
[7] 李伟, 吴浩, 杨恺. MGD-S50 Ⅱ型声频振动钻机的研制与试验[J]. 中国煤炭地质, 2017, 29(12): 75-77+95.