卷烟机上胶装置喷胶嘴故障分析与改进
Fault Analysis and Improvement of the Glue Nozzle in the Cigarette Maker’s Gluing System
DOI: 10.12677/iae.2026.141003, PDF, HTML, XML,   
作者: 徐 宁:红塔集团玉溪卷烟厂,云南 玉溪
关键词: 卷烟机上胶装置喷胶嘴直线导轨故障分析Cigarette Maker Gluing System Glue Nozzle Linear Guide Fault Analysis
摘要: PROTOS2C型卷烟机上胶装置在长期运行中,喷胶嘴易因磨损或堵塞导致故障,频繁的清洁保养影响设备效率。本文针对该问题,设计一套直线导轨优化装置,将原摆动运动改为直线运动,降低碰撞风险。实验表明:改进后月均清洁保养频率由30余次降至16.7次,单次停机时间由15.4分钟缩短至9.7分钟。该方案有效提升了设备的稳定性,为卷接机组改进提供了参考。
Abstract: The glue nozzle of the PROTOS2C cigarette maker’s gluing system is prone to malfunctions due to wear or clogging during long-term operation, leading to frequent cleaning and maintenance and reduced efficiency. To address this issue, this paper proposes a linear guide optimization device that replaces the original swinging motion with linear movement to minimize collision risks. Tests show that the average monthly cleaning and maintenance frequency decreased from over 30 times to 16.7 times, and single downtime was reduced from 15.4 minutes to 9.7 minutes. The solution significantly improves equipment stability and offers insights for similar filter cigarette makers.
文章引用:徐宁. 卷烟机上胶装置喷胶嘴故障分析与改进[J]. 仪器与设备, 2026, 14(1): 13-18. https://doi.org/10.12677/iae.2026.141003

1. 引言

PROTOS2C型卷接机组是柯尔柏集团旗下德国HAUNI公司研发的成熟机型,以其高速度、高稳定性和高可靠性在全球烟草工业中得到广泛应用[1]。作为PROTOS系列的重要成员,该机组额定生产能力通常可达12,000支/分钟,是许多卷烟生产企业的主力设备。其采用先进的PLC控制技术,配备触摸屏操作界面,支持人机交互,操作简便快捷;同时,其关键部件如电器元件、传动部件和气动元件均选用高品质产品,确保了设备的稳定性和长寿命,显著提升了生产自动化水平和产品一致性[2]。然而,PROTOS2C型卷烟机在长时间运行后,在封口上胶环节中,其胶水喷嘴易出现磨损或堵塞问题,而频繁的清洁和维护工作会导致生产中断,最终影响设备整体效率和烟支质量[3]。针对卷烟机上胶问题,徐健炜等(2022)从胶液出口黏度和出口流速角度入手,通过Solid Works建模与Fluent分析改善涂胶工艺[4];白朝矗等(2024)基于Solid Works研制了一种新的上胶辊传动装置,改善了胶水工作环境,间接提高了上胶质量[5];于童等(2025)则聚焦YJ27型接装机的上胶装置,通过对上胶装置压力控制系统的改良,降低了喷胶嘴污染风险[6]。这些研究表明,结合工作参数优化,可有效解决喷胶嘴易损坏、干胶堆积等故障。

2. 现状调查与问题分析

2.1. 现状调查

1:外喷胶嘴;2:摆动座;3:螺纹孔;4:固定座;5:压缩空气管;6:气缸支架;7:伸缩气缸;8:胶枪;9:销轴;10:小压板;11:卷烟纸;12:边板;13:陶瓷喷头;14:金属管;15:内喷喷嘴。

Figure 1. Structural diagram of the gluing system for the PROTOS2C cigarette maker

1. PROTOS2C型卷烟机上胶装置结构示意图

在PROTOS2C型卷烟机的运行过程中,封口上胶是保证烟支成型质量的关键环节。该环节通过电机驱动计量泵供给胶水,并由气缸控制喷嘴体旋转至纸带位置,喷嘴针退回后完成涂胶。作为此环节的核心执行元件,喷嘴的工作状态直接影响上胶的均匀性与稳定性[7]。其结构示意图如图1所示。然而,在实际生产中,胶水喷嘴在长期运行中会发生磨损与堵塞,造成胶线不匀、断胶等问题。

为量化该问题对生产的影响,本文重点统计了3台PROTOS2C型卷烟机因处理胶水喷嘴异常而进行的主动清洁保养次数,具体数据如表1所示。

Table 1. Statistics table of cleaning and maintenance frequency for glue nozzles of PROTOS2C cigarette maker

1. PROTOS2C型卷烟机胶水喷嘴清洁保养次数统计表

机台编号

1月清洁次数

2月清洁次数

3月清洁次数

PROTOS2C-01

10

12

15

PROTOS2C-02

9

11

14

PROTOS2C-03

11

13

16

月总计

30

36

45

表1数据进行分析可知:首先,所有被调查机台均需频繁进行胶水喷嘴的清洁保养,3台设备平均每月超过30次,表明该问题并非偶发,而是普遍存在的常态。其次,从月度趋势看,清洁频次呈现明显的逐月递增态势,这表明随着设备运行时间的累积,喷嘴磨损或堵塞问题趋于加剧。每次清洁保养均需停机操作,据估算,单次清洁平均耗时约15分钟,由此导致的月度累计停机时间相当可观,严重占用了有效的生产工时。

2.2. 问题分析

根据现状调查,PROTOS2C型卷烟机上胶装置喷胶嘴损坏频繁,导致清洁保养时间显著延长。其本质原因在于原上胶装置的结构设计缺陷和运动特性。原装置采用摆动座(2)绕销轴(9)摆动的方式驱动胶枪(8),其运动形式存在固有风险。喷胶嘴(1) (15)由陶瓷喷头(13)与金属管(14)黏结而成,材质脆弱,而伸缩气缸(7)在压缩空气管(5)中100~200 kPa压力下驱动联结的摆动座快速摆动,摆动速度过快易导致喷胶嘴在进出工作位置时与烟枪边板(12)、小压板(10)或异物发生碰撞,使陶瓷喷头的破碎或黏结处存在开胶风险。此外,喷胶嘴的位置调整依赖人工松动内六角螺钉(3),若调整不当或存在异物阻挡,碰撞概率更高。频繁的损坏迫使维修人员反复拆卸、安装和调整装置,从内部拆除摆动座、销轴等组件,过程复杂,从而延长了清洁保养时间[8]

3. 改进方案设计及实施

3.1. 改进方案设计

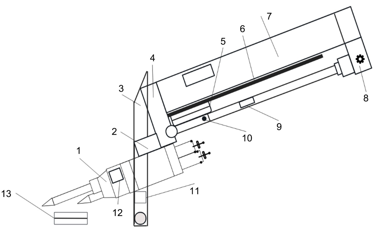
针对PROTOS2C型卷烟机上胶装置喷胶嘴易损坏的问题,采用“直线运动胶枪优化装置”改进方案。具体实施中,采用直线导轨系统,包括直线导轨(7)、滑块(5)、气缸(9)等组件。设备启动时,阀门控制气缸活塞杆伸出,带动胶枪沿直线导轨向前移动至工作位置;停机时,活塞杆缩回,在定位块(12)和导向块(11)的协同下胶枪返回起始位置。移动距离由止挡块(13)调整,确保喷胶嘴与卷烟纸的距离适中。

改进后PROTOS2C型卷烟机上胶装置结构示意图如图2所示。

该改进方案能有效解决问题,主要源于运动方式和受力的变化。对改进前后装置进行受力分析,如图3(a)图3(b)所示。由图3(a)可知,改进前上胶装置停止转动瞬间主要受与摆动座连接气缸施加的推力 F 以及喷胶嘴接触到异物收到的反作用力 F 1 F 2 ,设推力 F 在摆动座上的切向力为 F x F F x 夹角为 α ,销轴与螺纹孔、外喷胶嘴、内喷胶嘴的力臂距离为 l l 1 l 2 。则根据角动量定理,有:

1:胶枪;2:胶枪固定块;3:可调底座;4:连接块;5:滑块;6:气缸支架;7:直线导轨;8:鱼眼接头;9:气缸;10:异形螺钉;11:导向块;12:定位块;13:止挡块。

Figure 2. Schematic diagram of the improved gluing system structure for cigarette maker

2. 改进后卷烟机上胶装置结构示意图

Figure 3. Force analysis

3. 受力分析

F x ×l×t= F 1 × l 1 ×t= F 2 × l 2 ×t=Δmω F x =Fcosα (1)

由于夹角 α 不断变化,使切向力 F x 也连续变化,故取起点与终点切向力的平均值,即:

F ¯ x = Fcos α 0 +Fcosα' 2 (2)

由实地测量可知, α 0 =70˚ α'=27˚ l=10.5mm l 1 =9.6mm l 2 =5.9mm ,则有:

F ¯ x = Fcos α 0 +Fcosα' 2 =0.62F F 1 = l l 1 × F ¯ x =0.68F F 2 = l l 2 × F ¯ x =1.10F (3)

图3(b)可知,改进后喷胶嘴运动形式由往复摆动变为直线运动,喷胶嘴在双作用气缸的带动下向前运动。由受力分析可得:

F 1 = F 2 =0.5F (4)

通过对比可知,改进后两个喷胶嘴受力减小,且受力形式由正压力变成摩擦力,能有效降低喷胶嘴损坏概率。

3.2. 改进方案实施

在改进方案实施过程中,针对关键外购件的选型,直线导轨的选择主要考量其负载承受能力和运动平稳性,以确保喷胶嘴在往复移动中精准定位,减少振动和磨损;气缸则选用双作用类型,基于系统所需的推力输出和响应速度,保证胶枪能够稳定进入和退出工作位置。对于自制件如胶枪固定块和连接块,材料选择上优先采用高强度合金钢,以增强耐磨性和结构刚性,适应高速运行下的机械应力;关键尺寸公差的设计着重于配合面的精密加工,例如滑块与导轨的滑动间隙控制在合理范围内,通过研磨和配对装配来优化运动顺畅度,避免卡滞或松动,从而提升整体装置的可靠性和使用寿命。整个选型和设计过程以提升设备稳定性、降低维护频率为核心目标,通过系统性考量确保改进方案的有效实施。

4. 实验验证

为验证改进后PROTOS2C型卷烟机上胶装置的效果,重点统计了上胶装置的清洁保养频率(每月需清洁或调整的次数)及相关停机时间,数据按月记录并取平均值,以确保结果的客观性。统计结果如表2表3所示。

Table 2. Statistics table of cleaning and maintenance frequency for glue nozzles of the improved cigarette maker

2. 改进后卷烟机胶水喷嘴清洁保养次数统计表

机台编号

4月

5月

6月

PROTOS2C-01

7

6

5

PROTOS2C-02

5

5

5

PROTOS2C-03

7

5

5

月总计

19

16

15

表2可知,改进后卷烟机胶水喷嘴月平均清洁保养次数为16.7次,相较改进前的30余次大幅度降低。

Table 3. Comparison table of time for glue nozzle cleaning and maintenance

3. 胶水喷嘴清洁保养时间对照表

序号

项目

改造前

改造后

备注

1

停机准备与安全锁定

2.0 min

2.0 min

2

拆卸上胶装置防护罩及连接气管

3.5 min

2.0 min

3

拆卸摆动座组件及销轴

4.2 min

-

改进后无需此项

4

直线导轨滑块及胶枪拆卸

-

2.8 min

改进后新增项

5

喷胶嘴清洁与检查

3.0 min

1.2 min

6

组件回装与调试

2.7 min

1.2 min

合计

15.4 min

9.7 min

表3可知,卷烟机上胶装置经过直线运动胶枪优化装置,清洁保养时间从15.4 min减少至9.7 min。

5. 结论

针对PROTOS2C型卷烟机上胶装置喷胶嘴易损坏、清洁保养频繁的问题,通过直线导轨优化设计改进上胶装置结构,将摆动运动转为直线运动,有效降低了碰撞风险。实验验证表明:改进后月均清洁保养频率由30余次降至16.7次;单次平均停机时间由15.4分钟缩短至9.7分钟。该方案显著提升了设备运行的稳定性,降低了维护成本,为同类卷接机组改进提供了参考。

参考文献

[1] 许文豪, 周子存, 付寿华, 等. PROTOS 2C卷烟机牙嵌分段式涂胶辊轴的设计应用[J]. 仪器与设备, 2025, 13(2): 136-145.
[2] 姜冬子, 赵斌, 卞建胜, 等. YJ116B型卷烟机上胶装置的改进[J]. 烟草科技, 2024, 57(4): 108-112.
[3] 《ZJ116型卷接机组》编写组. ZJ116型卷接机组(机械) [M]. 郑州: 河南科学技术出版社, 2021.
[4] 徐健炜, 王娜, 廖宇, 等. 基于Fluent的某卷烟机搭口胶枪喷嘴流体仿真分析[J]. 包装学报, 2022, 14(5): 36-41.
[5] 白朝矗, 洪家升, 杨凯. ZJ17卷接机上胶辊传动装置研究与设计[J]. 设备管理与维修, 2024(23): 117-119.
[6] 于童, 刘宇, 王文帅, 等. YJ27型接装机上胶装置压力控制系统的改良设计[J]. 机械管理开发, 2025, 40(7): 263-265.
[7] 尹志良, 马列, 业明. 分段式涂胶辊轴的设计应用[J]. 仪器与设备, 2025, 13(1): 24-28.
[8] 闻邦椿. 机械设计手册第4卷[M]. 第5版. 北京: 机械工业出版社, 2010.