心脏外科用免缝合人工血管的研究与设计
Research and Design of Sutureless Artificial Blood Vessels for Cardiac Surgery
DOI: 10.12677/acm.2026.162705, PDF, HTML, XML,   
作者: 陈锦滢:杭州医学院康复学院,浙江 杭州;詹婕锐, 楼更上:杭州医学院临床医学院,浙江 杭州
关键词: 免缝合人工血管主动脉夹层血管吻合外科创新医疗器械Sutureless Artificial Blood Vessels Aortic Dissection Vascular Anastomosis Surgical Innovation Medical Devices
摘要: 近几年A型主动脉夹层手术增多,这种手术传统方法风险、难度非常大且最痛苦的一个地方就是做血管吻合,因为主动脉夹层撕裂的血管缝合以后出血概率高,且手术时间长,止血时间长,术后容易出现多种并发症。基于该背景,我们研究了一种免缝合的人工血管来代替传统缝合血管。该项目由膨体聚四氟乙烯人工血管、置于内壁的支撑环及位于人造血管本体两端的包扎器组成,通过内衬环结构、手术线缠绕捆绑在包扎薄膜与内螺纹槽对应的方式,实现快速、稳定的血管吻合。该项目已完成初步理论建模、3D设计并成功申报专利。本文阐述了该技术的设计理念、结构特点、技术路线与研究进展,探讨其在主动脉夹层手术中的应用潜力。
Abstract: In recent years, the number of surgeries for type A aortic dissection has increased. The traditional approach to this surgery is highly risky and challenging, with the most difficult aspect being vascular anastomosis. This is because suturing the torn vessels in aortic dissection carries a high risk of bleeding, requires prolonged surgical time, and involves extended hemostasis, often leading to multiple postoperative complications. Against this backdrop, we developed a sutureless artificial vessel to replace traditional sutured vessels. This project comprises an expanded polytetrafluoroethylene (ePTFE) graft, an internal support ring, and end-sealing devices at both ends of the graft body. Rapid and stable vascular anastomosis is achieved through an inner lining ring structure and surgical suture wrapping that binds the sealing film to corresponding internal thread grooves. Preliminary theoretical modeling and 3D design have been completed, and a patent application has been successfully filed. This paper outlines the design philosophy, structural features, technical approach, and research progress of this technology, exploring its potential application in aortic dissection surgery.
文章引用:陈锦滢, 詹婕锐, 楼更上. 心脏外科用免缝合人工血管的研究与设计[J]. 临床医学进展, 2026, 16(2): 2947-2954. https://doi.org/10.12677/acm.2026.162705

1. 引言

主动脉夹层是指主动脉腔的血液因主动脉内膜撕裂而进入主动脉中层,造成主动脉真假两腔分离[1],主动脉夹层在65~75岁的人群中最为常见,发病率约为3~5/100,000 [2] [3]。患者临床表现为突发胸痛、晕厥甚至休克,该病危险性较高,院内死亡率12.7%~27.2% [4]。目前对于急性主动脉夹层,临床多以外科手术介入为主。

关于主动脉夹层人工血管替换手术,目前临床共有三种主流的外科介入方法,分别是全弓置换 + 支架象鼻手术(TAR + FET) [5] [6]、杂交全主动脉弓置换术(HAR)和主动脉球囊阻断术(ABO) [7]。如图1

Figure 1. Diagrams of three traditional vascular suture methods

1. 三种传统血管缝合方法图

TAR + FET中无论是否涉及主动脉根部的血管置换,都需要医生尽快完成缝合操作恢复循环,尤其是FET术后,降主动脉还有较高的风险会出现腔内血栓或覆盖假腔缩小的并发症。除了FET术后的血栓风险,HARI型需要考虑患者主动脉夹层发生逆撕的风险,ABO则需要注意在置入支架后,管腔球囊阻塞反流的血液,对停循环的时间的影响。如何高效完成主动脉夹层的人工血管置换并减少该手术的风险始终是心胸外科临床医生关注的课题。

在免缝式血管重建研究中,姬尚义等人[8]于2006年在动物实验中尝试用医用不锈钢所制成的钢圈吻合主、肺动脉断端并用丝线辅助结扎血管,发现此法可明显缩短大动脉吻合时间和降低出血率。王为等人[9]于2006年将镍钛合金丝网内衬于人造血管内进行直接结扎,并在动物实验中发现此法处理的实验动物本身的血管预后良好,但其也提出了免缝合尝试可能会由于材料选择失误引发免疫反应使本体血管吻合段出现坏死:血液涌动、肌层滑行等因素可能造成人造血管移位;血流动力学改变可能诱发假性动脉瘤形成。同样具有参考价值的免缝合固定研究是程丽萍等人[10]于2021年设计的“甜甜圈 + 三明治”组合法用于脐静脉导管的固定,但该法主要用于避免有创操作对脐带的损伤,设计仅符合脐带暴露于自然干燥的环境中的情况,若要应用于体内大血管的吻合处起缝合效果,还有很多如敷料的选择等情况需要考虑。

2. 理论与实践

2.1. 初步理论模型

基于近几年逐渐增多的A型主动脉夹层手术,其传统方法难度大,风险高,且最痛苦的地方是做血管吻合,并且因为主动脉夹层撕裂的血管缝合以后出血概率高,手术和止血时间长,术后容易出现并发症。基于该背景,我们想研究出一种免于人工缝合的血管,这种免缝合的技术可以使吻合口多针缝合的时间免去,简化实验的操作,还可以避免吻合口感染所带来的并发症。目前初步提出的理论雏形是:用新型材料制作支撑环,改变人造血管与肌层连接处的构造,制作一个向外翻起中间中空的空隙,并将支撑环放入其中。支撑环起到为人造血管增加硬度的作用,方便后续的固定操作。用人造血管相同的材料将支撑环包裹起来,可以避免支撑环与组织和血液的直接接触避免感染,将做过处理的人工血管植入正常血管的锚定端,再通过无伤固定打结的方式,进行人工血管置换,免去了既往吻合口多针缝合的时间,简化手术操作。

2.2. 待解决的问题

1) 人造血管植入内衬的技术问题:

人造血管的常见材料是膨体聚四氟乙烯[11]-[13],这是一种耐高温、耐腐蚀,使用寿命长达20年的塑料制品。经过改造的人造血管是否能维持原有的使用寿命、通过铸模塑形是否能实现内衬环的嵌入需要我们与生物材料公司的技术部门进行对接、确认。

2) 内衬环的材料选择:

人体可用金属材料需要耐腐蚀、无毒无害,要求较为严格。目前常用的医用金属材料有钴基合金、钛基合金、不锈钢[14]、形状记忆合金、贵金属、纯金属铌、锆、钛[15]、钽等[16]。我们需要在对比分析各种材料优缺点的同时,关注性价比。

3) 固定方式选择:

目前有三种初步想法:

① 结扎法:选材有高密度手术缝合线,如图2

Figure 2. Diagram of the ligation method

2. 结扎法方法图

② 环箍法:如图3,选材有金属调节环。

Figure 3. Metal adjusting ring

3. 金属调节环

③ 枪钉法:金属钉搭配医用螺栓。

具体选用何种方法固定人工血管需要根据所造模型进行讨论。

2.3. 完成实物制作

首先运用Blender、nomad等传统建模软件对模型进行3D建模。并在3D建模的基础上制作拆解动画与演示动画。接着购置膨体聚四氟乙烯管(eFTE),并定制成品内衬环。经过组装后,用猪心模拟人体心脏,进行离体灌流模拟[17]。最后根据数次模拟结果反复改善模型。

2.4. 模型结构

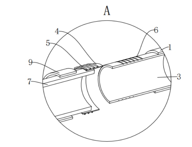
心脏外科用免缝合人工血管,包括人造血管本体以及位于人造血管本体两端的包扎器,如图4,其特征在于:所述包扎器包括连接套管、包扎薄膜和手术线,所述连接套管的一端外壁光滑设置,且插入人造血管本体的一端内,所述连接套管的另一端外壁设有内螺纹槽,且插入人体内血管中,所述包扎薄膜缠绕在人体内血管和连接套管的重叠位置,所述手术线缠绕捆绑在包扎薄膜上且与内螺纹槽对应。

1:人造血管本体;2:包扎器;3:连接套管;4:包扎薄膜;5:手术线;6:内螺纹槽;7:人体内血管;8:支撑环;9:固定环;10:固定环。

Figure 4. Main image of artificial blood vessel

4. 人工血管主图

3. 模型的创新

放弃使用传统的细尼龙带结扎[18],它会压迫主动脉壁组织,从而使自体主动脉壁组织变性或坏死,甚至引起主动脉壁破裂,继而导致致命性大出血造成死亡。解决了传统套环的口径大小与人工血管口径大小不一致使手术失败。我们的内置环采用镂空设计来减轻重量,减少对周围组织的压迫和可能存在的损伤;我们的内置环设计了铰链或褶皱的结构来与人工血管实现吻合并适应了主动脉中血流流速变换引起的血管直径变化。解决了理论上可能存在的由于内置环引起血流动力学[19]改变导致形成血栓[20]的问题。内置环侧面应用新型材料来设计有梯度的“坡度”,来减少可能出现的血液涡流[21],从而减少血栓形成。

针对不同人体的主动脉夹层的情况提出了不同的解决方法:如固定环的直径调节作用:防止脱落或者缩小影响血流;支撑环外表面使用与人造血管本体相同的材料进行包裹,可以避免支撑环与组织和血液的直接接触避免感染;所述支撑环起到为人造血管增加硬度的作用,方便后续的固定操作;所述连接套管的另一端外壁设有内螺纹槽,且插入人身体内血管中,所述包扎薄膜缠绕在人身体内血管和连接套管的重叠位置与内螺纹槽对应,使包扎更为紧密等。

Figure 5. Comparison of surgical time between sutureless and traditional methods

5. 免缝合和传统方法手术时间对比

创新性地开发出新的输送系统,实现了免缝合人工血管的快速和准确植入,并运用微创技术进一步减少手术的创伤;创造性地将3D打印技术和患者特定的血管成像数据[22]融合,因人而异地定制出独一无二的免缝合人工血管以更好地适应个体患者的解剖结构,这样的设计也能允许它们适应不同尺寸和类型的自然血管,使其适用于多种心脏外科手术;在技术的采用进程中加入了专业培训和教育计划,以帮助心脏外科医生掌握使用免缝合人工血管的技巧有一定的教育和支持;该免缝合技术创造性地改变了传统的血管植入手术中所需的将人工血管与自然血管缝合在一起这个耗时且高技术要求的操作,设计了一个特殊的接口,可以直接与自然血管对接,无需缝合,简化了手术操作,大大减少了手术时间,如图5,降低了患者在手术中的风险;创新性地运用生物相容性的材料,如聚四氟乙烯(PTFE)或生物工程材料,从而减少免疫反应和排斥反应;免缝合设计的人工血管所提供的更平滑的内表面,减少了血液流动的阻力,可以减少术后出血、感染和血栓形成的风险,从而减少手术创伤和并发症,有助于提高长期通畅率和生存率。

4. 技术路线

4.1. 系统的设计与测试

创新性地自主设计研发一体化免缝合带支架人工血管系统,这一系统包括近端人工血管(含四分支)和远端覆膜支架,其连接处采用独特的免缝合设计,旨在简化手术操作,降低围术期[23] [24]风险,减少吻合口出血。在临床应用前,先进行体外测试来评估系统的性能和可行性。这包括对人工血管的物理性能、耐久性以及与自然血管接合处的稳定性进行测试。

4.2. 项目与微创手术的研究与应用

将一体化免缝合带支架人工血管系统应用于实际的心脏外科手术中,并记录相关手术数据及术后随访结果。通过这些临床案例,初步探索该系统在治疗中的有效性与安全性。结合现代微创手术技术,来进一步减少患者创伤和加快恢复速度。这也表明了免缝合技术可以适应不同的手术方式,提供便利并改善患者预后。

4.3. 评估与学术交流

对使用免缝合人工血管的患者进行长期的随访观察,以评估其远期效果,包括通畅率、并发症发生率等关键指标。通过学术会议、工作坊等形式,分享研究成果和临床经验,同时为医生提供专业培训,促进新技术的普及和正确应用。该项目的研究技术路线是全面的,涉及从初步设计开发到临床应用和长期效果评估的各个阶段。通过不断的创新和改进,这一技术有望为心脏外科手术带来新的进展。

5. 项目成果

该项目已完成“心脏外科用免缝合人工血管”实用新型专利授权。专利的核心为集成化免缝合结构设计,突出其在简化手术流程、降低手术风险和减少吻合时间等方面的优势。

6. 结论

本研究基于临床主动脉夹层手术中血管吻合操作复杂、耗时长、并发症风险高的现实需求,设计并初步验证了一种新型免缝合人工血管系统。该模型通过创新的内置支撑结构与外置捆扎装置相结合的方式,避免了传统多针缝合的繁琐操作与相关风险,实现了血管的快速吻合、稳定固定。目前已完成了模型的理论建模、结构设计与实用新型专利授权,为后续的实验验证与临床转化奠定了技术基础。

然而,必须清醒认识到仍有诸多关键问题有待解决。首先,模型的生物相容性与长期安全性需要通过系统的体外细胞实验与动物模型研究进行验证;其次,结构的力学稳定性与血流动力学特性仍需通过流体力学模拟与离体灌流实验进一步评估;此外,模型的可操作性与对不同解剖结构的适应性也是未来研究的重要方向。

未来,本团队计划在以下方面开展深入研究:一是优化材料组合与结构设计,提升系统的生物适配性;二是开展大动物模型实验,验证其在体安全性与有效性;三是探索微创介入下的应用潜力,推动技术向临床实用转化。尽管前路仍充满挑战,但本研究的初步成果表明,免缝合人工血管技术在提升心血管外科手术效率、降低操作风险方面具有明确的研究价值与应用前景。

参考文献

[1] 赵明宇, 赵腾, 刘双, 等. 经皮穿刺介入腔内覆膜支架治疗主动脉夹层的临床价值[J]. 系统医学, 2023, 8(12): 137-140, 149.
[2] Gouveia e Melo, R., Silva Duarte, G., Lopes, A., Alves, M., Caldeira, D., Fernandes e Fernandes, R., et al. (2022) Incidence and Prevalence of Thoracic Aortic Aneurysms: A Systematic Review and Meta-Analysis of Population-Based Studies. Seminars in Thoracic and Cardiovascular Surgery, 34, 1-16. [Google Scholar] [CrossRef] [PubMed]
[3] Zhu, Y., Lingala, B., Baiocchi, M., Tao, J.J., Toro Arana, V., Khoo, J.W., et al. (2020) Type A Aortic Dissection—Experience over 5 Decades. JACC Historical Break-Throughs in Perspective. Journal of the American College of Cardiology, 76, 1703-1713. [Google Scholar] [CrossRef] [PubMed]
[4] Huang, L., Yang, Y., Guo, J., Huang, Y. and Lin, L. (2023) The Application of 5E Rehabilitation Management Mode in the Nursing of Patients with Aortic Dissection Complicated by Obstructive Sleep Apnea. Sleep and Breathing, 28, 1089-1097. [Google Scholar] [CrossRef] [PubMed]
[5] 王勇. 全弓置换联合支架象鼻手术治疗急性Stanford A型主动脉夹层患者的效果[J]. 中国实用医药, 2023, 18(21): 67-70.
[6] 郑军, 张巍, 马维国, 等. 全弓替换支架象鼻技术治疗急性A型主动脉夹层的中远期结果[J]. 中华胸心血管外科杂志, 2017, 33(9): 549-556.
[7] 谢恩泽华. Stanford A型主动脉夹层急性与亚急性/慢性的区别以及治疗方式探索[D]: [硕士学位论文]. 北京: 北京协和医院, 2023.
[8] 姬尚义, 杨晓涵, 季军, 等. 应用钢圈套扎吻合主、肺动脉进行心脏移植的实验研究[J]. 实用医学杂志, 2006(24): 2838-2839.
[9] 王为, 徐志云, 黄盛东, 等. 新型可调式免缝合人造主动脉移植物的研究[J]. 中华实验外科杂志, 2006(11): 1325-1327.
[10] 程莉萍, 王辉, 李磊, 等. 免缝式“甜甜圈 + 三明治”组合固定法的设计及其应用效果评价[J]. 解放军护理杂志, 2021, 38(3): 75-77, 86.
[11] Bao, L., Hong, F.F., Li, G., Hu, G. and Chen, L. (2021) Implantation of Air-Dried Bacterial Nanocellulose Conduits in a Small-Caliber Vascular Prosthesis Rabbit Model. Materials Science and Engineering: C, 122, Article ID: 111922. [Google Scholar] [CrossRef] [PubMed]
[12] 李娟, 曹晶婷, 刘燕华, 等. 人造血管制备和性能研究的进展[J]. 产业用纺织品, 2024, 42(9): 1-8.
[13] 贾慧莹, 马建伟, 陈韶娟. 聚四氟乙烯纤维的制备技术及其进展[J]. 产业用纺织品, 2018, 36(7): 1-6.
[14] 阮建明, 邹俭鹏, 黄伯云. 生物材料学[M]. 北京: 科学出版社, 2004.
[15] 王桂生, 朱明. 外科植入物用钛合金研究进展和标准化现状[J]. 稀有金属, 2003, 27(1): 43-48.
[16] 李兆峰, 黄伟九, 刘明. 人体用金属植入材料的研究进展[J]. 重庆工学院学报, 2006(5): 42-46.
[17] Friedrich, B., et al. (2024) Characterization and Validation of Radiotracer Kinetics Using the Langendorff Isolated Perfused Heart. In: Witney, T.H. and Shuhendler, A.J., Eds., Positron Emission Tomography: Methods and Protocols, Springer, 251-267.
[18] 崔得利. 连续缝合间断打结法吻合动脉在器官移植中的应用研究[D]: [硕士学位论文]. 大连: 大连医科大学, 2016.
[19] 亓华新, 牛甲民, 刘洪岩, 等. 急性前壁心肌梗死介入术后无创血流动力学参数与主要心血管事件的关系[J]. 介入放射学杂志, 2025, 34(12): 1306-1310.
[20] Liu, L., Wang, Z. and Li, Y. (2025) A Case of Dual Inferior Vena Cava Filters for Managing Extensive Deep Vein Thrombosis Following Cardiac Pacemaker Implantation. Asian Journal of Surgery, 48, 7504-7505. [Google Scholar] [CrossRef
[21] Iqbal, A.M., Li, K.Y., Aznaurov, S.G., Lugo, R.M., Venkataraman, R. and Gautam, S. (2022) Catheter Ablation for Atrial Fibrillation Can Be Safely Performed without Invasive Hemodynamic Monitoring: A Multi-Center Study. Journal of Interventional Cardiac Electrophysiology, 64, 743-749. [Google Scholar] [CrossRef] [PubMed]
[22] Yang, X., Hachaichi, S., Endrikat, J., Ullmann, A., Cao, L. and Wang, G. (2026) Protocol and Performance of Coronary Computed Tomography Angiography in Patients with Atrial Fibrillation: A Systematic Review and Meta-Analysis. Clinical Radiology, 92, Article ID: 107175. [Google Scholar] [CrossRef
[23] Chen, J., Tu, Q., Miao, S., Zhou, Z. and Hu, S. (2020) Transcutaneous Electrical Acupoint Stimulation for Preventing Postoperative Nausea and Vomiting after General Anesthesia: A Meta-Analysis of Randomized Controlled Trials. International Journal of Surgery, 73, 57-64. [Google Scholar] [CrossRef] [PubMed]
[24] 蒋宏粉, 顾婕, 许艳玲, 等. 新一代光学相干断层成像技术在冠心病介入诊疗中的围术期护理[J]. 实用临床医药杂志, 2018, 22(12): 4-7.