GDX1条盒透明纸CV端面螺旋折叠装置的开发
Development of a New CV End-Face Spiral Folding Device for GDX1 Carton Transparent Paper
DOI: 10.12677/met.2026.151012, PDF, HTML, XML,   
作者: 王子涵, 王 磊:红塔烟草(集团)有限责任公司玉溪卷烟厂,云南 玉溪
关键词: GDX1条盒透明纸螺旋折叠端面折叠GDX1 Carton Transparent Paper Spiral Folding End-Face Folding
摘要: 为了解决GDX1条盒透明纸CV端面折叠方式中,在上行通道中完成端面上方向折角过程中,下方向折角由于摩擦造成向下移位产生“拖尾”的问题,采用改变上、下方向折角的折叠方式,在水平通道中一次完成上、下方向折角的折叠。改进过程:① 将之前水平通道上的单个螺旋折叠片改为一对上下配合的双螺旋折叠片,烟条在水平通道平移时完成下方向折角的折叠后,马上进入上方向折角的折叠,保证在进入上行通道前完成上、下方向折角的折叠。② 在两螺旋折叠面之间增加了一块衬板,一方面保证折好的折角在后续工序中不松动变形,另一方面折叠后的折角上、下、左、右对称平整,角度呈45˚。③ 折叠器的底板,上压板表面改用花纹抛光不锈钢板,减小了通道表面对条盒的摩擦阻力,使条盒运行通畅平稳,不易因阻力产生移位。应用效果表明,根除了条盒端部下方向折角的“拖尾”问题,端部折角上、下、左、右对称平整,角度呈45度,GDX1包装机CV部分故障率降低了0.43%。改进后GDX1条盒透明纸CV端面出现的废品率从改进前的3.8%降低为1.1%,大大的降低了产品的废品率,节约了生产成本。
Abstract: To solve the problem of “dragging tail” in the CV end-face folding process of GDX1 carton transparent paper, where the downward folding angle is shifted downward due to friction during the upward channel process, a folding method that changes the folding angles of the upper and lower directions was adopted. The folding of the upper and lower directions was completed in the horizontal channel at one time. Improvement process: ① The single spiral folding piece on the horizontal channel was changed to a pair of upper and lower cooperating double spiral folding pieces. When the cigarette rod moved horizontally in the horizontal channel, the downward folding angle was folded first, and then it entered the upward folding angle folding, ensuring that the folding of the upper and lower directions was completed before entering the upward channel. ② A spacer plate was added between the two spiral folding surfaces. On the one hand, it ensured that the folded angle did not loosen or deform in the subsequent process. On the other hand, the folded angle was symmetrical, flat, and at a 45˚ angle on the left, right, top, and bottom. ③ The bottom plate and upper pressing plate surface of the folding device were replaced with patterned polished stainless steel plates, reducing the friction resistance of the channel surface on the carton, making the carton run smoothly and stably, and reducing the displacement due to resistance. Application results show that the problem of “dragging tail” in the downward folding angle of the carton end was eliminated, the folding angle of the end was symmetrical, flat, and at a 45˚ angle, and the failure rate of the CV part of the GDX1 packaging machine was reduced by 0.43%. The scrap rate of the GDX1 carton transparent paper CV end-face after improvement decreased from 3.8% before improvement to 1.1%, greatly reducing the product scrap rate and saving production costs.
文章引用:王子涵, 王磊. GDX1条盒透明纸CV端面螺旋折叠装置的开发[J]. 机械工程与技术, 2026, 15(1): 115-122. https://doi.org/10.12677/met.2026.151012

1. 前言

GDXl小盒包装机组是20世纪90年代初从意大利GD公司引进的卷烟包装设备,包装速度为400包/分,机组性能成熟,广泛应用于卷烟企业。但GDX1的CV部分条盒透明纸端面折叠方式存在以下问题:① 折叠器是侧线烫接完成后才进行端面下方向的折叠,侧线烫接时容易受热起皱,很大程度上影响了条烟盒的产品表面质量。② 端面上方向折角是在上行通道中完成的,因为上行中折叠时向下挤压的缘故,下方向折角易向下移位造成底边“拖尾”[1] [2]。③ 上压板和底板表面都采用平板,条烟盒在通道中运行的表面摩擦力大,条烟盒易因阻力移位而造成停车,且止退挂钩只有中间的一个,后退时有可能产生左右位置不对称所引起的“长槽”导致停车,从而影响了包装设备的效率和产品质量。

2. GDX1条盒透明纸CV端面折叠工作原理

GDX1条盒透明纸CV端面折叠工作原理如图1所示,① 第一提升器将条烟盒向上顶升,条烟盒连同透明纸一起顶升至水平通道,完成条盒透明纸的“∩”形折叠。② 水平通道上的一副活动折角器开始端面第一折,即C面和沿长度方向上的包折。③ 推送器把条烟盒向前推一步,借助于固定折角器完成端面方向上的第二折即d面折叠。④ 由螺旋线板完成端面第三折即e面折叠。此时,处于条烟盒下部位置的长边烙铁对透明纸条烟盒的长边进行烙烫热封。在包装过程中,活动的反衬件将条烟盒保存在正确位置[3] [4]。然后,条烟盒到了机器第二次上升位置,当等二提升器把条烟盒送到端面封口位置时,两个侧壁完成条烟盒端面第四折即f面折叠,并被送至机器的输出通道。在该输出通道上,推条器将该透明纸条烟盒平推向前,通道两侧的电烙铁定时地对条烟盒的两端面进行加热加压,以完成透明纸条烟盒端面的热封。至此,机器完成了条外透明纸的包装。

1-第一提升器;2-活动折角器;3-推送器;4-螺旋线板;5-长边烙铁;6-反衬件;7-二提升器;8-出口烙铁;9-封口位置侧壁;10-固定折角器;11-条盒底板;12-上压板。

Figure 1. Schematic diagram of the CV end face folding mechanism of the GDX1 carton transparent paper

1. GDX1条盒透明纸CV端面折叠机构示意图

3. 新型GDX1条盒透明纸CV端面螺旋折叠装置

GDX1条盒透明纸端面螺旋折叠装置借鉴其机器原有的条盒透明纸螺旋成型的原理,采用一对螺旋折叠片组成双螺旋成型面,上、下螺旋折叠片分别完成上、下折角的折叠,同时在两螺旋折叠面之间增加了衬板。此外新型GDX1条盒透明纸CV端面螺旋折叠装置的底板和上压板表面改用花纹抛光不锈钢板,以减小通道表面对条盒的摩擦阻力。

3.1. 新型GDX1条盒透明纸CV端面螺旋折叠装置工作原理

Figure 2. Principle diagram of the CV end face folding of the GDX1 carton transparent paper

2. GDX1条盒透明纸CV端面折叠原理图

第一提升器将条烟盒向上顶升,条烟盒连同透明纸一起顶升至水平通道,完成条盒透明纸的“∩”形折叠。水平通道上的一副活动折角器开始端面第一折,即C面和沿长度方向上的包折。推送器把条烟盒向前推一步,借助于折角导向块完成端面方向上的第二折即d面。在随后的步骤中,由e面折叠片完成端面第三折即e面。此时,处于条烟盒下部位置的长边烙铁对透明纸条烟盒的长边进行烙烫热封。紧接着,f面折叠片完成条烟盒端面第四折即f面[5] [6]。然后,条烟盒到了机器第二次上升位置,并把条烟盒送到端面封口位置封口,完成条盒透明纸的包装(图2)。

新型GDX1条盒透明纸CV端面螺旋折叠工艺流程如图3所示。

Figure 3. Process flow chart of the spiral folding method for the CV end face of the new gdx1 carton transparent paper

3. 新型GDX1条盒透明纸CV端面螺旋折叠工艺流程图

3.2. 新型GDX1条盒透明纸CV端面螺旋折叠装置可行性分析

3.2.1. 改进后折角器摸态分析

对改进后折角器建立模型,运用ANSYS进行模态仿真时,模型的建立有两种方法。一种是运用SolidWorks软件完成三维模型的建立,然后将模型转换为stp格式导入ANSYS软件。另外一种是直接在ANSYS经典GUI界面中建立三维模。本文选择运用SolidWorks软件建立三维模型[7],如图4所示。

Figure 4. Improved angle-forming device model

4. 改进后折角器模型

在ANSYS软件中,分别设定改进后折角器各零件的材料力学性能参数如表1所示。

Table 1. Material properties of each component of the angle adapter

1. 折角器各零件材料属性

零件

材料名

弹性模量(E)

密度(ρ)

泊松比(ν)

导向板

LY12

71 GPa

2700 kg/m3

0.3

折叠片I

LY12

71 GPa

2700 kg/m3

0.3

折叠片II

LY12

71 GPa

2700 kg/m3

0.3

折角刀板

65Mn

196.2 GPa

7810kg/m3

0.24

折角导向块

LY12

71 GPa

2700 kg/m3

0.3

支承块垫块

45#

211 GPa

7850 kg/m3

0.27

支承块

45#

211 GPa

7850 kg/m3

0.27

对折角器进行网格划分,为确保计算结果的准确性,设置网格单元长度为1 mm。计算得到改进后折角器的固有频率为769.1 HZ远大于机器运行时的激振频率50 HZ,改进后折角器在使用中不会发生共振,其固有频率满足使用要求[8] (图5)。

Figure 5. Improved angle adapter

5. 改进后折角器

3.2.2. 改进后折角器角度变化

改进后折角器主要由折叠片I和折叠片II组成,折叠片I曲面角度由下水平0˚逐步变化为90˚完成下折角的折叠,折叠片II的曲面角度由上水平0˚逐步变化为90˚完成上折角的折叠。相比于改进前,改进后的折角器增加了折叠片II,在水平通道上既下折角的折叠,同时也完成了上折角的折叠(图6)。

3.2.3. 上压板的滚花改进

改进后,组成通道的条盒底板和上压板为花纹抛光不锈钢板,相对于改进前大大减小了条烟盒在通道中运行的表面摩擦阻力,使条烟盒运行通畅平稳,条烟盒不易因阻力移位而造成停车,提高了生产效率及产品质量(图7)。

Figure 6. Improved angle cutter

6. 改进后折角器

Figure 7. The improved upper plate and bottom plate

7. 改进后上压板和底板

4. 新型GDX1条盒透明纸CV端面螺旋折叠装置具体工作过程

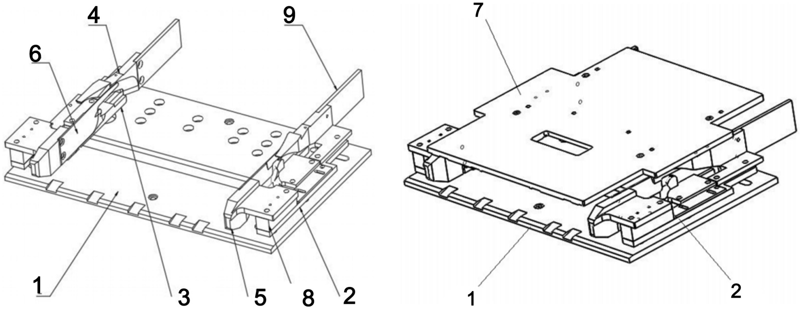
图8所示条盒透明纸折叠机构包括底板1、支撑块2、上压板7、折叠组件;所述的支撑块2对称安装在底板1上部的两侧,折叠组件安装在支撑块2上,上压板7连接安装于两组折叠组件的上侧。

Figure 8. Transparent paper folding mechanism for carton boxes

8. 条盒透明纸折叠机构

折叠组件包括第一折叠片3、第二折叠片4、折角导向块5、折角导板6,用于对透明纸短边进行折叠的折角导向块5安装在支撑块2上部的前侧,第一折叠片3安装在支撑块2的中部,第二折叠片4安装在支撑块2的后部,第二折叠片4上的上长边折叠工作面处于第一折叠片3上的下长边折叠工作面的上侧,折角导板6安装在折角导向块5上,并在垂直方向上处于第一折叠片3和第二折叠片4之间,折角导板6下侧与下长边折叠工作面配合安装,折角导板6上侧与上长边折叠工作面配合安装;所述的第二折叠片4的后端连接安装有导向板9。

工作时,条盒透明纸的加工处于底板1、上压板7和两组折叠组件组成的折叠通道内,条盒透明纸在推入折叠机构的同时将前面的透明纸短边进行折叠,同时通过折角导向块5完成后面透明纸短边的折叠,在运动过程中,条盒透明纸的下长边沿折角导板6下侧与下长边折叠工作面之间的通道上滑完成折叠,条盒透明纸的上长边沿折角导板6上侧与上长边折叠工作面之间的通道下滑完成折叠,折叠完成后的条盒透明纸两端通过导向板9压紧,并沿导向板输出。

5. 上机实验效果

完成新型GDX1条盒透明纸CV端面螺旋折叠装置的开发后,安装在卷包二车间4#包装机组进行实验,对改进前后三个月也即2025年4月~6月和2025年10月~12月的产品数据进行跟踪统计,得到GDX1生产数据如表2所示。

Table 2. Comparison of GDX1 production data before and after improvement

2. 改进前后GDX1生产数据对比

改进前

改进后

4月

5月

6月

10月

11月

12月

废品率

3.6%

3.8%

4%

1.2%

1.1%

1.0%

平均

3.8%

1.1%

通过对对改进前后三个月也即2025年4月~6月和2025年10月~12月的产品数据的分析可知,改进后GDX1条盒透明纸CV端面出现的废品率从改进前的3.8%降低为1.1%,大大的降低了产品的废品率,节约了生产成本。

6. 结论

(1) 通过对新型GDX1条盒透明纸CV端面螺旋折叠装置的开发使得条盒透明纸的包装外观平整,折角对称、规矩、棱角清晰,条烟盒在水平通道中运行平稳、通畅、不易造成停车,废品,大大提高了产品质量和生产效率。

(2) 条盒透明纸端面的四个方向的折叠可以在水平通道中一次完成,所以侧线在烙铁烫接之前,端面方向折角已完成大部分折叠,侧细拉得较平整,侧线在烫接后表面平整度较好。且条烟盒在向上运行中上方向折角已完全压住其余三个折角,不再会产生移动变形,端面经烫接后不再产生“拖尾”现象。

(3) 折叠器两个螺旋折叠面之间增设了一块衬板,一方面可让后续折好的折角不松动变形,另一方面折叠后的折角上、下、左、右对称平整,角度呈45度,从而提高了条烟盒的包装外观质量。

(4) 组成通道的条盒底板和上压板为花纹抛光不锈钢板,大大减小了条烟盒在通道中运行的表面摩擦阻力,使条烟盒运行通畅平稳,条烟盒不易因阻力移位而造成停车,提高了生产效率及产品质量。

(5) 折叠器的止退挂钩由原来的一个增加到三个,条烟盒不会因后退时左右位置不对称而强起“长槽”导致停车,产生废品。

(6) 改进后GDX1条盒透明纸CV端面出现的废品率从改进前的3.8%降低为1.1%,大大的降低了产品的废品率,节约了生产成本。

参考文献

[1] 付亚彬, 付俊, 黄世海. YB95型条盒透明纸包装机端面折叠器的改进[J]. 机械管理开发, 2023, 38(11): 138-140.
[2] 余有芳, 李跃辉, 马娜, 等. 条盒及透明纸包装机包装轮II保护技术研究[J]. 中国新技术新产品, 2020(2): 43-45.
[3] 吴建军, 施忠兵, 马万杰. YB618型硬条及条外透明纸包装机美式包装及拉线形式的改进[J]. 烟草科技, 2015(8): 82-87.
[4] 梁伟明. 条盒透明纸两端折角原因分析及改进方案[J]. 黑龙江科技信息, 2013(9): 65.
[5] 余林可, 方梦珍, 唐萱齐, 等. YB518型盒外透明纸包装机成型轮轧包快速处理方法[J]. 设备管理与维修, 2025(1): 97-99.
[6] 李乾, 胡涛, 许希逸, 等. FOCKE401烟包小盒透明纸端部成型热封装置改造[J]. 设备管理与维修, 2024(21): 123-125.
[7] 高博. BV条盒折叠导条改造[J]. 大科技, 2021(20): 179-180.
[8] 李成名, 尚志云, 郭毓. CV条包透明机第一提升通道改进[J]. 房地产导刊, 2015(5): 446-446.