以连接为基础的长沙市出租车综合监管平台设计与实现
Design and Implementation of Changsha Taxi Comprehensive Supervision Platform Based on Connection
DOI: 10.12677/mse.2024.135108, PDF, HTML, XML,   
作者: 刘俊杰:长沙市城市公共交通事务中心,湖南 长沙
关键词: 出租车连接大数据信息系统监管Taxi Connect Big Data Information System Supervise
摘要: 长沙市现有出租车(含网约)共计约5万余台,经营主体约60家,本文针对长沙市出租车车辆多、企业散等特点,结合最新的车辆监管技术,为解决政府统一管理和调度的难题,重点探讨了以连接为基础的出租车综合监管平台的设计与实现,通过开展行业先进管理经验的调查研究并引入前沿的信息化技术,使平台在全域连接、数智应用以及技术水平都达到了行业领先,有效地支撑起长沙市出租车行业管理提升和优质服务的发展目标。
Abstract: There are about 50,000 taxis (including online taxis) in Changsha City, with about 60 operating entities. This article focuses on the characteristics of Changsha City, such as a large number of taxi vehicles and scattered enterprises, and combines the latest vehicle supervision technology to solve the problem of government unified management and scheduling. The design and implementation of a connection-based taxi comprehensive supervision platform are mainly discussed. Through conducting research on advanced management experience in the industry and introducing cutting-edge information technology, the Changsha taxi comprehensive supervision platform has achieved industry-leading connectivity, digital application, and technological level, effectively supporting the development goals of improving the management and quality services of the taxi industry in Changsha City.
文章引用:刘俊杰. 以连接为基础的长沙市出租车综合监管平台设计与实现[J]. 管理科学与工程, 2024, 13(5): 1015-1026. https://doi.org/10.12677/mse.2024.135108

1. 引言

近些年随着“网约出租车”的蓬勃发展,其“天生”的互联网+特性表现出信息化、数字化具有的优势,传统出租车行业开始在全球、全国范围内经历数字化改造,信息化提升了行业的运行效率、安全水平。笔者所在的长沙市出租车行业领域,暴露出出租车系统连接不足、智能化水平不够、现实交互有待提升、平台运行能力无法支撑业务发展等问题,这些问题也严重地影响了出租车行业有序发展,导致交通主管部门对行业的掌控能力不足,监管抓手不强。对比互联网快速发展红利所带来的技术水平,传统交通行业信息化领域的系统实现、运行、运维能力是存在着一定差距的。不论是技术架构、服务框架、还是运维体系方面都存在着有待提升之处,以确保技术系统更高效、稳定地为交通行业的业务服务。针对出租车行业领域信息化水平不足的问题,基于长沙市出租车行业发展的现状,在深入跟踪、研究行业发展、结合互联网、物联网技术的基础上,本文定义了以连接为基础的长沙市出租车综合监管平台功能,系统地阐述了关键技术设计,从实现的角度介绍了相关技术要点,最后展现了融合平台的整体效果。

2. 当前长沙市出租车行业信息化监管存在的突出问题

2.1. 出租车系统连接不足

在出租车领域涉及出租车司机、出租车乘客、出租车企业;行业管理领域涉及行政许可、计程计价、驾驶违规、驾驶员培训、司乘安全、行业维稳、指挥调度等管理层面。从出租车系统互联的角度来看,连接司机、乘客、企业、行业是实现出租车系统作用最大化的基础,实现物理世界与信息系统连接是必不可少的能力。

2.2. 智能化水平不够

十几年出租车行业信息化发展历程,信息化有一定基础,而智能化水平尚有待提升。在2G时代出租车行业车载系统与车机交互以GPS信息为主,边缘智能能力不够,对物理世界的感知能力有限。因连接不足,仅有车辆位置数据,没有接入地理数据、天气数据、人口数据、POI (Point of Interest)等维度数据,系统分析结果片面,无法涵盖所有场景,智能水平不足。

2.3. 现实交互有待提升

过去出租车2G终端主要承担了远程车辆连接,车辆位置、运行速度、空重车等状态信息的呈现。对车辆、司机的交互不足,这种状态导致仅能实现事后的处置;在5G时代对出租车行业领域实体运行事件的事前预防、事中干预是亟待解决与演进的。

2.4. 平台运行能力无法支撑

原长沙市出租车综合监管平台只接入巡游出租车的GPS监管,随着近年来网约车的兴起及对行业管理需求的升级,原来基于2G建设的信息化平台已经不能满足现在的管理需求,一是监管车辆数由原来的8000多台增加到了现在的约50,000台;二是原来的管理需求仅限于查询GPS定位信息升级到现在需要监管车内视频和增加主动安全防控等;三是原来靠人工分析数据变成利用大数据分析输出结果。原平台已无法支撑现在的管理需求,亟需重新设计新的信息化平台。

3. 出租车综合监管关键技术因素分析

面对长沙市出租车行业领域信息化水平的突出问题,笔者在调研全国范围内重点领域研发成果的基础上,对长沙市出租车管理所需的技术管理手段进行研究分析、研究与探索。

3.1. 领域全连接

出租车行业涉及的领域,包括车、司机、乘客、企业、监控人员、行政审批人员、行政执法人员、司乘驾培等系统实体。作为长沙市出租车综合监管平台要求系统互连,实现数据互交换,以形成一个有机整体。

车辆方面,当下主流的技术是5G实时连接技术,通过无线网络将车辆实时位置、运营数据、出租实时运行数据,上传到长沙市出租车综合监管平台。车辆类别即包括传统巡游出租车,还包括新型网约车。

司机方面,因出租车行驶时间长,城市路况复杂,驾驶过程中易出现安全风险。与司机的连接方面,尽可能采用自动式,即司机上车、下车、司机身份核实验证、驾驶行为[1]等与系统互连行为由车载端自动完成[2]。这样连接方式解放了司机,减少了安全风险。

乘客方面,实现按需连接,即需要出行时与长沙市出租车综合监管平台连接。连接的要求是聚焦打车便利[3]、乘客安全、财产安全等。

3.2. 边缘与数据智能

人工智能时代在连接的基础上,出租车行业亟待提升智能问题,从业界的成熟实践来看,出租行业智能包括两个方面:边缘智能及数据智能。

边缘智能的关键在于感知、识别现实,重点在于对车辆、司机、道路[4]、环境等现实物理实体;在感知、识别基础上,实现边缘端智能决策,以改善出租车监管服务能力。边缘智能方面主要能力应包括司机身份识别[5] [6]、司机安全驾驶、司乘安全异常事件识别、道路行驶安全识别控制[7] [8]等内容。

集中式数据智能关键在于数据融合,多种数据汇聚,由数据产生、信息、智能。集中式数据智能在系统连接的基础上,将司机、车辆、环境数据汇聚到系统中,通过对GPS位置、出租运营、边缘智能、地图、天气等数据进行算法分析。相关智能重点服务于出租运行分析[9]、智能诱导[10]、指挥调度[11] [12]、异常运营行驶[13]、公众出行推荐[14]等。

3.3. 现实虚拟双向互动

2G时代出租车行业以单向连接为主,5G、万物互联、人工智能时代在边缘智能的加持下,现实虚拟双向互动成为可能[15] [16]。双向互动的核心在于集中智能与边缘智能交互,在连接的基础上,实现智能数据模型、智能信息上传与下发,突破单向连接的局限。在双向互动功能方面重点在于:车辆行驶推荐[17] [18]、安全驾驶行为推荐[19]、出租车配置规划、运力保障实施等。

4. 以连接为基础的平台技术方案设计

本节重点在于描述以连接为基础的长沙市出租车综合监管平台的技术实现方案。该技术方案在业界主流技术的基础上,以技术方案解决长沙市出租车管理过程中暴露的突出问题。技术方案上主要包括平台技术架构、关键技术功能点、技术体系等内容。

4.1. 整体平台技术架构

以连接为基础的出租车智能融合平台采用物联网架构、数智架构分层,分为连接接入层、服务计算层、业务服务层,见图1

Figure 1. Platform architecture diagram

1. 平台架构图

连接接入层主要负责各种智能设备的接入、TOCC (Transportation Operations Coordination Center)接入、第三方业务系统接入,考虑系统的稳定性要求,连接层要考虑数据源动态管理,在不停服务的情况下,实现设备、数据的变更、升级等。

服务计算层是平台核心层,起到承上启下的关键作用,技术上实现物联网架构向数智架构的转换。服务计算层包括通用服务组件、数据分析组件两部分,两部分的主要差异在于通用服务组件负责实时数据处理,而数据分析组件主要负责离线数据处理。平台服务计算层所涉及的通用服务组件包括用户管理、权限管理、司机–车队–车辆等基础信息管理、报警管理、证据管理、人脸管理、运营管理等。数据分析组件主要包括原数据ETL、数据存储、分析引擎、分析调度、特征数据服务、画像服务、推荐服务等。

业务应用层是用户使用的核心组件,按特征领域分为运行监测、综合分析、行政审批、服务质量监督、监管稽查、指挥调度、企业服务、公众服务等八个业务板块。用于出租车不同业务领域的信息化管理及服务需要。

4.2. 关键技术功能点

在整体平台架构分层体系下,为实现长沙市出租车综合监管平台功能,进行技术功能点的创新是极其必要的。长沙市出租车综合监管平台在物联网、数智相关技术功能点涉及连接配置化、司机智能识别、运力智能动态调度控制、安全驾驶人因控制等。

4.2.1. 连接配置化

考虑到智能边缘设备的连接、TOCC的连接、第三方业务平台的连接等多种连接形态的存在、数据交互方式的多样式、数据推送或获取的差异以及连接字段的变更等,本连接配置化技术点,核心在于解决异构数据交互情况下,快速、高效地管理好相关数据出入口,见图2

Figure 2. Explanation of connection configuration model

2. 连接配置模型说明

连接配置化分为三个部分数据源管理、通信插件框架、通信插件管理。数据源管理主要定义连接的特征,包括相关协议类型、方向、数据源地址及端口、触发方式、入口、出口内容、流量控制等内容。支持的协议包括设备相关的905、808、1078以及其它定制协议;平台相关的包括809、HTTP (Hypertext Transfer Protocol)、JSON (JavaScript Object Notation)、SOAP (Simple Object Access Protocol)、FTP (File Transfer Protocol)等。数据源管理功能主要涉及管理员对外部连接的数据源添加、编辑、删除、启用、升级等。

通信框架的核心在于解析通信插件的描述,按数据源管理的要求读取通信插件相关信息,负责连接的监听、建立、数据读取、数据推送、连接变更等工作。

通信插件则主要对数据类型、入口、出口内容的定义进行描述,由通信插件管理模块负责字段解析,数据组装等工作。

4.2.2. 司机智能识别感知

长沙市出租车综合监管平台边缘智能的关键是将边缘智能从车辆演进到司机的关键功能,见图3

Figure 3. Explanation of driver intelligent recognition perception

3. 司机智能识别感知说明

主要技术设计思路为:

前置条件:边缘设备具备离线人脸识别算法,该算法由统一的设备运维服务软件维护。

第一步:合法司机人脸信息管理,包括司机及人脸照片的添加、编辑、删除,车辆绑定等功能。特别需要说明的是车辆绑定,一个司机在同一时间应该是驾驶一辆车,一个时间周期内可以驾驶有限数量的车辆。

第二步:管理人员完成司机信息绑定后,若当前出租车辆在线,则通知设备获取绑定的司机列表。智能车载设备按司机信息获取相应的人脸照片,并存储在边缘设备端。若出租车不在线,平台则会更新司机及人脸下发状态,待出租车上线后,再通知设备获取。考虑到平台与设备之间数据一致性,防止在设备不在线情况下多次更新司机及人脸信息,减少设备同步的次数,需要按车辆实现司机列表的摘要,用于同步控制。

第三步:司机人脸识别,当平台–智能设备完成配置后,司机上车驾驶时,边缘智能设备通过IPC进行智能识别,识别主要通过司机人脸照片实现,边缘智能设备获取照片人脸特征,与本地关联司机人脸照片对比。正常情况下,驾驶车辆司机能够在下发的关联司机人脸库中找到,并识别对应的司机。若该司机未在车辆注册,则会出现异常驾驶的报警信息。异常司机情况出现后,需求请求人工干预,防止非法驾驶运营。

为防止出租车司机中途更换,可以设置随机司机人脸识别抽查对比。随机边缘司机人脸对比与司机、车辆的异常驾驶运营大数据相关联,形成司机、车辆的信用积分,利用积分来动态调整随机识别对比。

第四步:驾驶感知数据应用,边缘智能设备完成人脸识别之后,在司机更换产生之前,所有该车辆产生的位置、运营、安全等数据都归属于该司机,并以数据字段的形式上报至平台。

4.2.3. 安全驾驶人因控制

安全驾驶人因控制技术点主要体现边缘智能与中心数据智能在安全驾驶方面的融合场景,见图4。司机驾驶安全算法实践中,边缘智能集中在感知上,感知司机安全驾驶行为,而在不同行业、不同环境,安全驾驶的风险是不同的。

Figure 4. Safety driver control explanation

4. 安全驾驶人因控制说明

安全驾驶人因控制部分涉及边缘智能设备、风险引擎执行器、风险模型训练器、关联事件服务等。在边缘智能设备侧主要包括业务控制器、数据采集模块、人因边缘算法来负责边缘事件采集。人因边缘算法结构化为点/短事件序列,通过无线通道上传至控制平台。业务控制器则主要负责接收平台下发的事件干预指令。

融合平台侧涉及数据连接接入、风险模型训练、执行及关联事件服务处理等内容。连接接入层提供与设备交互的通信能力,屏蔽不同设备、协议的差异化。风险模型由大数据计算引擎Flink实现,在离线引擎部分主要进行定期的熟练数据读取并进行算法训练。实时引擎部分主要负责算法模型应用,对边缘智能设备上报的点/短事件按模型进行分析处理,产生安全事件。训练器则负责代表个体差异、环境差异的驾驶风险模型、知识风险模型,并以司机画像形式呈现。

4.2.4. 运力智能分析–动态调度

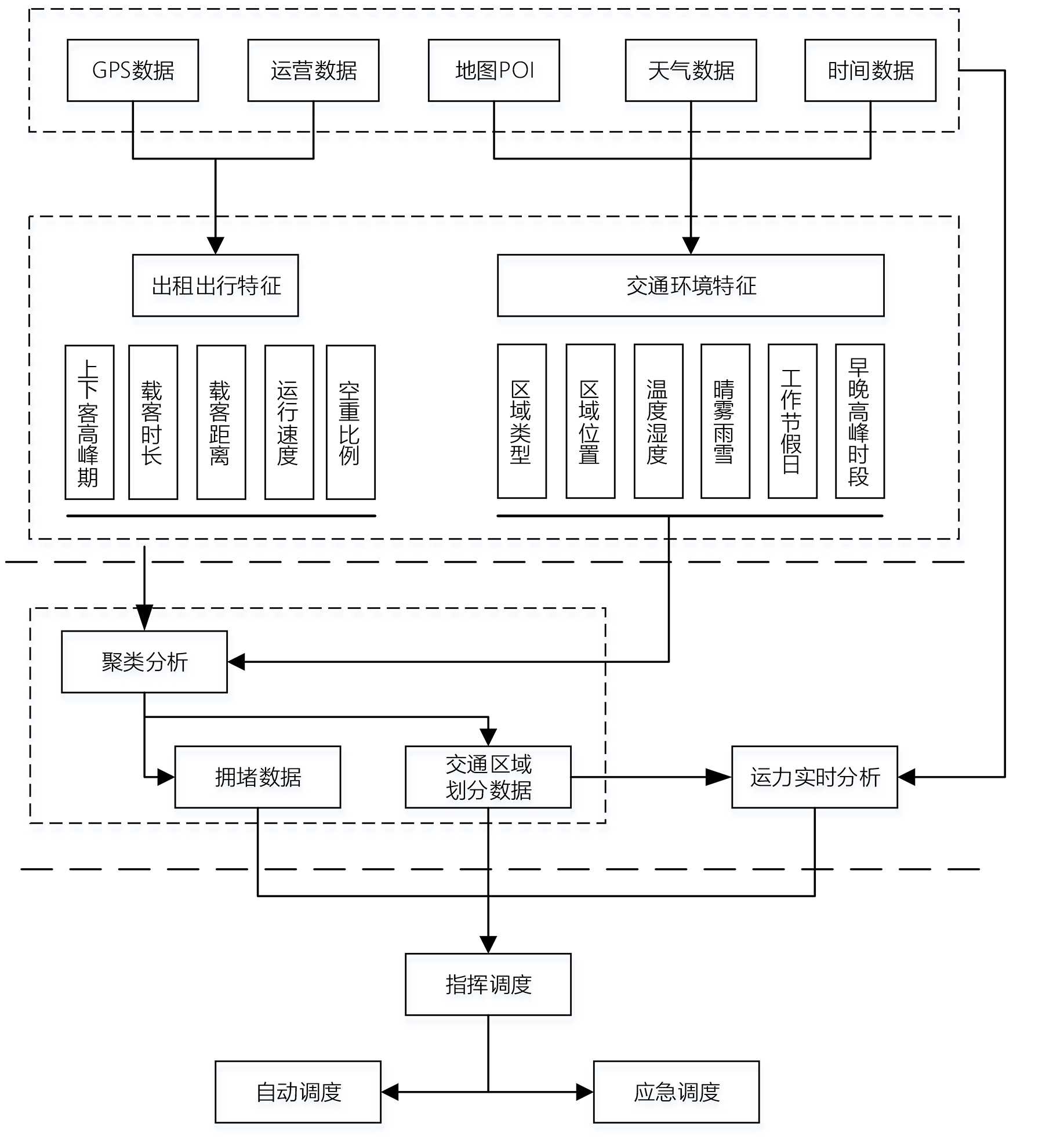
本技术功能点是长沙市出租车综合监管平台中将数据智能与边缘智能结合的技术实现,在对历史数据学习分析的基础上,输出相关的模型,对实时数据的接入反映供需现状,用以运力调度,见图5

整体分为三个部分:数据特征处理、大数据算法分析、算法模型应用。其中数据特征处理,包括车辆GPS数据、出租运营数据、地图POI、天气数据、时令数据等。大数据算法分析则主要采取聚类算法,如K-means、层次聚类等,通过聚类算法获取能够表现城市出行特征的交通区域模型、区域拥塞模型、区域运力饱和模型等。在算法模型应用部分,则重点在于输入实时数据,对当前交通区域情况进行可视化,按需进行动态调度,以平衡出租出行要求。

Figure 5. Intelligent analysis of transportation capacity-dynamic scheduling explanation

5. 运力智能分析–动态调度说明

4.3. 支撑技术体系

在设计、实现过程中考虑到系统的稳定性、健壮性、可维护性,采用了“三高”的系统架构,主流的互联网服务框架以及完备的运维服务体系。

4.3.1. “三高”系统设计

以连接为基础的长沙市出租车综合监管平台其技术架构的首要目标是“三高”。在互联网平台技术体系中,对高并发、高性能、高可用一直是衡量软件质量、技术水平的重要指标。

实现“三高”系统,架构上一定要进行适度的改造,对比“大泥球”的系统而言,要在前端架构、应用层架构、服务架构、存储层架构等方面按系统规模进行设计、实现。前端架构上的动静分离、缓存技术、负载均衡技术等;应用架构方面侧重点考虑业务拆分、服务无状态、服务容器化、动态负载等;服务架构侧重点在分布式设计,解决服务分级管理、异步调用、多线程处理等方面;存储层架构则需要使用考虑数据缓存、分布式存储、NoSQL (Not Only SQL),解决数据同步、冗余、扩展的问题。

4.3.2. 微服务技术框架

在“三高”系统要求下,本融合平台采用业界主流、先进的服务框架,以保障业务服务的质量要求。目前系统在实现语言上主要采用JAVA做为服务语言,JAVA语言的服务框架采用Spring Cloud Alibaba微服务框架。组件架构图如下图6

Figure 6. Service architecture diagram

6. 服务架构图

4.3.3. 高效运维服务技术体系

“三高”系统在运行态的保障主要体现在运维服务技术体系上,当出现任何技术异常时都应用相应的运维服务技术体系优先保障,见图7。高效运维服务技术涉及平台运行态的资源管理、运维操作管理、综合监控管理、权限控制管理、统一交互管理等内容。

作为平台运行态核心组件,资源管理包括对网络(域名、IP)、CDN (Content Delivery Network)、服务器、存储基础设施的管理,也包括操作系统、数据库、中间件等基础组件的管理,还包括应用、组件服务、分析排查工具链管理等。

运维操作管理则是为平台运行态操作实施的运作有效控制,对平台的日常操作包括远程管理、自动装机、系统重启、自动化巡检、安全扫描、补丁下发、配置操作、脚本执行、合规检查、数据备份、数据还原等。

综合监控管理主要负责平台所涉及的资源的监控,包括基础设施、基础组件、服务组件等运行状态的监测,异常风险、报警的定义及触发等。监控的内容包括运行状态、性能指标、运行日志等内容。监控中心通过采集、过滤、关联、报警、通知等步骤感知平台运行情况,确保平台平稳运行。

权限控制管理主要负责系统资源访问的控制,实现不同人员对不同平台运行实体具备不同的操作控制能力,并确保访问过程是合法、合规的。主体功能涉及权限分配、权限回收、安全认证、访问审计等。

统一交互管理是高效运维服务技术面向用户的界面,重点在于对权限分配、资源操作、监控处理、运维操作关联,确保运维服务一体化。

Figure 7. Operation and maintenance service technology system

7. 运维服务技术体系

5. 结语

Figure 8. 1 + 8 fully interconnected system

8. 1 + 8全互联系统

本文通过分析长沙市出租车行业信息化管理存在的问题,着手从解决管理难点出发,重新定义了新的出租车监管平台功能,并以连接为基础,将车辆、司机和乘客通过信息系统融合在一起,实现对长沙市出租车行业的信息化管理。

经长沙市出租车综合监管平台建设项目的实践,长沙市出租车行业信息化管理已达成全面连接化,为各相关领域提供了监管、服务的系统工具。借助边缘智能、数据智能,提升了平台整体智能化水平,实现智能化风险控制与挖掘处理。经过技术化改造提升了系统的稳定性、可用性,保障出租车行业管理和运行服务的发展。具体效果见图8图9

Figure 9. Intelligent capacity analysis

9. 智能化运力分析

下一步长沙市将充分利用该平台,从监管、安全、服务等方面进一步提升长沙市出租车行业水平,助推行业健康发展。

参考文献

[1] 白建峰, 秦钦. 用于网约出租车的主动安全监测装置[P]. 中国专利, CN216599857U. 2022-05-24.
[2] 王香香. 基于毫米波雷达和前视摄像头的ADAS系统研究[J]. 汽车知识, 2022, 22(2): 17-19.
[3] 熊永红, 张新梅. 浅谈出租车驾驶员如何避免服务投诉[J]. 城市公共交通, 2021(3): 30.
[4] 王宝锋. 基于机器学习与传感器融合的车辆与车道线识别研究[D]: [博士学位论文]. 北京: 北京理工大学, 2020.
[5] 杨明坤. 智能网联汽车驾驶员身份识别关键技术研究[D]: [硕士学位论文]. 西安: 西安电子科技大学, 2020.
[6] 李育贤, 臧金环. 车载人脸识别技术应用现状及发展趋势[J]. 智能网联汽车, 2020(5): 93-96.
[7] 黄惠迪. 基于机器视觉的行车安全预警系统研究与实现[D]: [硕士学位论文]. 上海: 东华大学, 2015.
[8] 王秋鸿. 面向交通安全的智能汽车安全驾驶管理对策研究[J]. 道路交通管理, 2022(2): 34-37.
[9] 胡悦, 陈露露. 基于出租车大数据的城市交通出行规划分析[J]. 无线互联科技, 2021, 18(14): 83-84.
[10] 谭行宇. 新一代信息技术推动创造智能交通诱导系统研究讨论[J]. 工程技术, 2022(8): 178-181.
[11] 崔允汀, 何胜学. 引力视角下出租车调度的增强学习模型[J]. 建模与仿真, 2021, 10(4): 962-972.
[12] 何胜学. 基于增强学习的网格化出租车调度方法[J]. 计算机应用研究, 2019, 36(3): 762-766.
[13] 胡洋, 刘丽坤, 谢元芒. 基于时空特征的非法营运出租车智能识别模型与机制[J]. 交通节能与环保, 2022, 18(6): 64-69.
[14] 尚博文. 基于出租车数据的人群出行时空模式识别及驱动机制研究[D]: [硕士学位论文]. 南京: 南京师范大学, 2019.
[15] 梁恩云, 高琛, 叶少槟, 赖粤. 基于数字孪生的自动驾驶交通场景构建研究[J]. 现代计算机(专业版), 2021, 27(30):1-10.
[16] 伍朝辉, 刘振正, 石可, 等. 交通场景数字孪生构建与虚实融合应用研究[J]. 系统仿真学报, 2021, 33(2): 295-305.
[17] 仝秋红, 曹扬, 柴国庆, 等. 车路协同信息融合的智能汽车行驶状态模糊评判[J]. 中国公路学报, 2022, 35(6): 254-264.
[18] 张胜敏. 基于城市交通大数据的行驶路径快速生成算法[J]. 信息与电脑, 2022, 34(3): 52-54.
[19] 马利坚. 基于人因的道路交通安全评价研究[J]. 交通科技与管理, 2021(13): 237-238.