上海某地下室底板开裂冒水检测及加固建议
Detection and Reinforcement Suggestions for Cracking and Water Gushing of the Basement Floor in Shanghai
摘要: 上海某一层地下室在结构封顶后发现地下室底板柱脚出现开裂冒水情况,发现问题后施工单位对地下一层柱脚根部周边进行了初步封堵处理,之后发现局部底板有上浮、隆起变形现象,并且少数柱根仍有冒水情况。为查明地下一层底板开裂、冒水原因,对该一层地下室区域进行专项检测。通过现场检测、复核验算、分析评估并提出处理建议,确保地下室正常使用,为后续类似工程问题提供参考依据。
Abstract: A sub-basement floor in a building in Shanghai was found to have cracked and been leaking water at the base of the columns after the structure had been topped off. After the problem was discovered, the construction unit carried out initial sealing work around the base of the columns. However, it was later found that some parts of the floor had risen and deformed, and that a few column bases were still leaking. In order to investigate the cause of the cracking and leaking in the sub-basement floor of the first level, a special inspection was carried out in the area. Through on-site inspections, calculations, analysis, and evaluation, and by providing recommendations for treatment, this report aims to ensure the safe use of the underground space and provide reference for similar projects in the future.
文章引用:张利花, 方林, 李胜朝. 上海某地下室底板开裂冒水检测及加固建议[J]. 土木工程, 2024, 13(11): 2133-2141. https://doi.org/10.12677/hjce.2024.1311233

1. 工程概况

本工程位于上海嘉定区,总用地约40亩,设计于2021年,2022年主体结构已封顶,未进行竣工验收,现处于停工状态空置至今。该项目设有一层地下室,主要为设备用房与地下车库,采用钢筋混凝土框架结构。地上有3个塔楼,均为4层或6层的钢框架结构,塔楼之间设缝处理。该地下室长 × 宽约为56.4 m × 127.8 m,基础采用桩基承台 + 防水板。目前地下室底板存在局部上浮、隆起变形现象,少数柱脚出现开裂冒水等情况(见图1图2)。

Figure 1. Floor heave deformation

1. 底板隆起变形

Figure 2. Cracking and leaking of the column root

2. 柱脚开裂冒水

2. 底板抗浮设计情况调查

2.1. 地勘报告

根据委托方提供的地勘报告可知,本项目场地于2020年12月完成现场勘察工作,场地地貌类型为滨海平原。场地浅部土层中的地下水属于潜水类型,其水位动态变化主要受控于大气降水和地面蒸发等影响。勘测期间,实测取土孔内的地下稳定水位标高在2.47 m~3.07 m之间。本场地南侧池桥湾河道、东侧姚家泾河道,河内水深0.50~1.00 m,河水面标高2.74 m。建议抗浮验算时采用高水位埋深值为室外地坪下0.50 m,对桩基布桩设计和沉降计算时采用低水位埋深为室外地坪下1.50 m。

2.2. 原抗浮设计调查

该项目地上4层或6层,地下1层,基础底板顶板面标高为−5.8 m,采用400 mm厚的防水板,标准跨配筋为C16@200双层双向拉通,局部板面配置附加钢筋;混凝土强度等级C35,混凝土抗渗等级P6。基桩采用直径500 mm、壁厚为125 mm的高强预应力混凝土管桩,桩身混凝土强度为C80;塔楼投影范围基桩是承压桩,纯地下室范围基桩是承压兼抗拔桩。设计抗浮水位取值符合地勘报告建议值。

2.3. 施工过程人工降水调查

设计单位要求施工时人工降低地下水位须保持在工程底部最低高程500 mm以下,施工降水须充分考虑降水对相邻建筑物的影响,在基槽排水或降水中应采取措施,防止破坏原有土壤结构。停止降水时间至少要等主体结构完成,必须征得设计核算满足抗浮要求方可进行回填。根据委托方描述,现场施工期间,在主体结构未封顶的情况下人工降水就已经提前结束。

3. 现场调查及检测结果

经现场检测,河内水深约为1.26 m,高出勘测期间最高水深0.26 m。现有水位仍对地下室产生实际加载的作用。根据现行国家规范标准、地方标准及现有的检测技术,对地下室底板结构进行随机抽检。主要检测项目包括:损伤情况、底板厚度、底板钢筋、混凝土强度、结构变形测量、底板裂缝以及现场其他工程质量问题等。

3.1. 地下室损伤情况调查

经现场检测发现,地下室主体结构基本完好,由于地下室底板建筑面层未做,混凝土底板表面大部分已被水浸透,局部地下室外墙脚有受潮现象。在纯地下室和与其交接的1~2跨范围内,底板出现上浮位移,隆起变形;底板与柱脚交接处冒水呈贯穿性放射状态,详见图3。冒水柱脚周边现场已做砖砌围挡、打泄水孔、基槽排水处理,详见图4。此外,现场未发现底板面跨中有裂缝情况,未发现开裂部位有露筋现象,开裂柱脚对应的柱上部梁柱节点处无裂缝情况。

Figure 3. Status of column base

3. 柱脚现状

Figure 4. Punching holes and drainage of foundation trench

4. 打孔、基槽排水

3.2. 地下室底板厚度检测

现场采用取芯机对底板进行钻芯取样,采用钢卷尺对芯样进行量测,对底板厚度进行抽检复核,详见图5。抽检底板无面层,所检构件检测结果见表1。由表1可知,抽检的地下室底板厚度满足设计值要求[1]

Figure 5. Base plate thickness measurement

5. 底板厚度量测

Table 1. Basement floor thickness test results

1. 地下室底板厚度检测结果

楼层

构件位置

板厚(mm)

实测值

设计值

地下一层

[4A-3, J]底板

455

400

[12, 4-a]底板

445

400

3.3. 地下室底板板面钢筋检测

现场采用PS200钢筋探测仪,根据《混凝土中钢筋检测技术标准》(JGJ/T 152-2019),对地下室底板板面钢筋进行抽检复核。同时,凿开底板面混凝土保护层,采用0~150 mm游标卡尺对钢筋直径进行测量。检测结果见表2,表中带*为凿开检测。由表2可知,板面钢筋直径、间距及保护层厚度实测值基本满足设计值要求[2]

3.4. 地下室底板混凝土抗压强度检测

根据现场检测条件,采用钻孔取芯机抽检6块地下室底板构件进行混凝土抗压强度检测,芯样经加工处理后,采用电液伺服万能试验机进行抗压强度检测,取出的芯样见图6,检测结果见表3。由表3可知,被检测芯样抗压强度介于38.2 MPa~52.0 MPa,推定值为44.5 MPa,符合设计强度等级要求[3] [4]

Table 2. Test result of rebar on basement floor panel

2. 地下室底板板面钢筋检测结果

楼层

构件位置及名称

东西向(mm)

南北向(mm)

设计

实测

设计

实测

地下一层

[4A-2~4A-3, H~J]防水板面*

C16@200

C16@187

C16@200

C16@190

[15~16, 4A~4-b]防水板面

C16@200

@183

C16@200

@185

[4A-5~4A-6, J~K]防水板面*

C16@200

C16@187

C16@200

C16@196

[8~4A-1, J~K]防水板面

C16@200

@183

C16@200

@188

[14, 4-b]承台面*

C25@200

C25@214

C25@200

C25@192

[13, 4-d]承台面*

C25@200

C25@190

C25@200

C25@188

[12, 4-d]承台面*

C25@200

C25@191

C25@200

C25@193

注:底板面保护层厚度约为25~50 mm。

Figure 6. Concrete core sample

6. 混凝土芯样

Table 3. Compressive strength test result of concrete core sample

3. 混凝土芯样抗压强度检测结果

抽样

编号

抽样位置

芯样直径

(mm)

破坏荷载

(kN)

混凝土强度

推定值(MPa)

混凝土设计

强度等级

1

[4A-2~4A-3, J~H]底板

74.3

174.537

40.3

C35

2

[4A-2~4A-3, J~H]底板

74.3

172.054

39.7

3

[4A-3~4A-5, J~H]底板

74.2

165.034

38.2

4

[11~12, 4-a]底板

74.3

203.563

46.9

5

[11~12, 4-a]底板

74.2

224.735

52.0

6

[11~12, 4-a]底板

74.0

211.657

48.9

3.5. 地下室结构变形测量

现场采用OS-602G全站仪对地下室框架柱的倾斜情况进行测量,测量值包括了原施工误差在内,具体测量结果见图7。从图中看出被检测地下室东西、南北方向倾斜均无明显规律,框架柱的倾斜率在0.4‰~4.2‰之间,基本满足规范限值4‰的要求[5]

现场采用NA2水准仪对地下室底板面的水平高差进行测量,测量值包括了原施工误差在内[6],具体测量结果见图8。从图中看出底板存在不同程度的隆起变形,上部有塔楼的地下室范围相对变形较小,最大隆起变形约为32 mm;纯地下室和与其相邻一跨范围相对变形较大,最大隆起变形约为73 mm [6]

Figure 7. The inclination situation of the frame columns (unit: ‰)

7. 框架柱倾斜情况(单位:‰)

Figure 8. Base plate relative deformation diagram (up is positive, unit: mm)

8. 底板相对变形图(向上为正,单位:mm)

3.6. 地下室底板及承台裂缝检测

经现场调查,地下室底板在框架柱柱脚周边冒水呈贯穿性放射状态。根据现场实际条件,对底板与承台进行取芯验证,在柱一侧位置沿着承台与底板交界面的方向逐一取3个芯样,所检芯样断裂位置分布及走向[4]详见图9。根据断裂位置走向可判断出裂缝是从柱根部一直贯通到底板与承台交界面,可判定为地下室底板与承台交界处产生冲切破坏,冲切破坏示意图见图10

Figure 9. Fracture location distribution and trend of core sample

9. 芯样断裂位置分布及走向

Figure 10. Schematic diagram of punching damage

10. 冲切破坏示意图

4. 复核验算分析

对地下室底板基础抗浮稳定及抗浮冲切承载力进行验算分析。基础抗浮工程设计等级采用乙级,抗浮稳定安全系数采用1.05,抗浮水位取相对标高−0.8 m,采用盈建科建筑结构计算软件对该地下室底板基础进行验算。

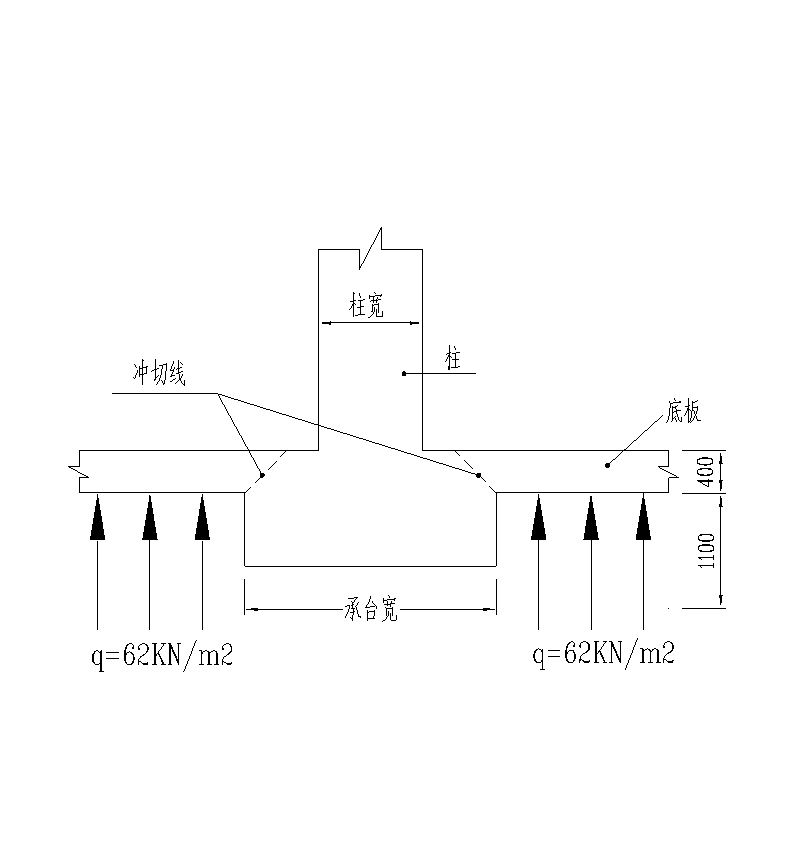
地下室底板在基础建模模块采用基床系数为0的筏板模型,更能模拟防水板的实际受力状态[7]。防水底板不承担地基承载力,仅考虑承担水浮力的作用,本工程抗浮水位距离防水板底部为−5.4 m,图11为历史最高水位下水浮力图。在抗浮冲切验算中,按最不利工况设计,恒载只考虑防水板和垫层的自重,水的净反力设计值q为62 kN/m2,防水底板受水浮力作用反向冲切承台见图12

Figure 11. Water buoyancy value of high-water waterproof plate (unit: kPa, positive upward)

11. 高水位防水板水浮力值(单位:kPa,向上为正)

Figure 12. Waterproofing board punching diagram

12. 防水板冲切示意图

经复核验算,在恒–浮(高)工况下,整体的抗浮稳定安全系数为1.72,满足规范要求;检测范围内一处柱下承台局部抗浮稳定安全系数不满足规范要求[8] [9]。在恒–浮(高)工况下,多处底板与承台交界处的冲切承载力不满足计算要求,部分不满足计算的承台位置实际也发生了冲切破坏。

5. 检测鉴定分析结论

1) 受检地下室底板厚度、混凝土强度推定值均满足设计要求;框架柱倾斜情况、底板相对变形检测结果基本符合规范要求。

2) 受检地下室在主体结构未封顶的情况下人工降水提前结束,结合近期地下水位不断上涨,地下室底板不均匀上浮,产生附加内力,冲切荷载增大,导致局部底板出现上浮、隆起变形,部分柱脚出现开裂冒水。

3) 结合地勘报告、设计图纸,对底板基础进行验算分析。在恒–浮(高)工况下,底板的抗浮稳定及抗冲切验算局部均有不满足规范的情况。

6. 加固建议

根据检测结果结合计算分析综合考虑,提出以下加固建议:

1) 地下室底板冒水部位处理:水压较大处的柱脚用微膨胀混凝土进行承台范围内的换填加固处理;轻微渗水有裂缝部位采用压力注浆法对裂缝进行修复[10]

2) 地下室底板隆起变形处理:对明显隆起的防水板进行注浆加固,消除工程隐患。

3) 地下室承台与防水板冲切承载力不足处理:在其临近增打抗浮锚杆、抗浮桩等锚固构件[8]。考虑实际正常使用过程中地下水位通常达不到设计时采用的高水位,采用抗浮桩更兼顾到承压的作用情况[11]

参考文献

[1] 李东彬, 张仁瑜, 张元勃, 等. GB 50204-2015. 混凝土结构工程施工质量验收规范[S]. 北京: 中国建筑工业出版社, 2014.
[2] 张仁瑜, 徐接武, 徐教宇, 等. JGJ/T 152-2019. 混凝土中钢筋检测技术标准[S]. 北京: 中国建筑工业出版社, 2019.
[3] 缪群, 李为杜, 童寿兴, 等. DG/TJ 08-2020-2020. 结构混凝土抗压强度检测技术标准[S]. 上海: 同济大学出版社, 2021.
[4] 李炳钟. 某建筑物地下室底板与承台交界处渗漏检测及加固措施[J]. 福建建材, 2024(3): 73-76.
[5] 高承勇, 黄绍铭, 王卫东, 等. DGJ 08-11-2018. 地基基础设计标准[S]. 上海: 同济大学出版社, 2019.
[6] 田术余, 徐晓晖. 某地下车库上浮原因与结构损伤及其加固处理[J]. 工程质量, 2023(41): 30-35.
[7] 程良. 考虑抗浮水位时地下室底板防水板的设计方法探讨[J]. 住宅与房地产, 2020(3): 86-87.
[8] 康景文, 沈小克, 戴一鸣, 等. JGJ 476-2019. 建筑工程抗浮技术标准[S]. 北京: 中国建筑工业出版社, 2019.
[9] 程宏光. 地下工程抗浮概念设计探讨[J]. 工程设计, 2022(20): 154-156.
[10] 龚波, 黄世文, 田志鹏. 某住宅楼地下室底板裂缝、渗水的技术鉴定及处理方案[J]. 施工技术与测量技术, 2020(12): 168-169.
[11] 徐迪, 孙森. 地下结构抗浮问题分析及稳定措施研究[J]. 建筑结构, 2022(7): 14-16.