热电池电堆极线弯折力学性能研究
Research on the Mechanical Properties of Electrode Tab Bending in Thermal Battery Stacks
DOI: 10.12677/mos.2026.151019, PDF, HTML, XML,    科研立项经费支持
作者: 金明泽*:沈阳理工大学机械工程学院,辽宁 沈阳;张嘉易#, 郝永平:沈阳理工大学机械工程学院,辽宁 沈阳;辽宁省先进制造技术装备重点实验室,辽宁 沈阳;赵洪力:辽沈工业集团有限公司,辽宁 沈阳
关键词: 热电池极线弯折自动装配有限元仿真力学分析Thermal Battery Electrode Tab Bending Automated Assembly Finite Element Simulation Mechanical Analysis
摘要: 针对热电池自动化装配中极线弯折工序的精度与可靠性需求,设计了一种自动化极线弯折机构,并对其结构与性能展开了系统研究。首先,基于库伦摩擦定律与金属塑性弯曲理论建立了力学模型,分析了弯折机构压轮下压力对极线弯折成形效果的影响规律。在此基础上,利用Abaqus有限元软件构建弯折过程的仿真模型,模拟不同压力条件下极耳的变形行为,并对弯折质量与贴合度进行评估。仿真结果表明,合理的压轮下压力不仅能够保证极耳与电堆表面平整贴合,还能避免损伤云母片绝缘层,从而满足装配工艺要求。最后,搭建实验平台并开展实际弯折实验,结果验证了力学模型与仿真分析的正确性和可行性,为热电池自动化装配工艺设计提供了理论支撑与工程参考。
Abstract: To address the precision and reliability requirements of the electrode tab bending process in automated thermal battery assembly, an automated electrode tab bending mechanism was designed, and its structure and performance were systematically studied. First, a mechanical model was established based on Coulomb’s friction law and metal plastic bending theory to analyze the influence of the pressure roller’s downward force on the electrode tab bending forming effect. Based on this, a simulation model of the bending process was constructed using Abaqus finite element software to simulate the deformation behavior of the electrode tabs under different pressure conditions and to evaluate the bending quality and fit. The simulation results showed that a reasonable downward force of the pressure roller can not only ensure a flat fit between the electrode tab and the battery stack surface but also avoid damaging the mica insulation layer, thus meeting the assembly process requirements. Finally, an experimental platform was built, and actual bending experiments were conducted. The results verified the correctness and feasibility of the mechanical model and simulation analysis, providing theoretical support and engineering reference for the design of the automated thermal battery assembly process.
文章引用:金明泽, 张嘉易, 郝永平, 赵洪力. 热电池电堆极线弯折力学性能研究[J]. 建模与仿真, 2026, 15(1): 204-212. https://doi.org/10.12677/mos.2026.151019

1. 引言

热电池又称熔盐热激活电池(Molten Salt Thermally Activated Batteries),是一种一次性储备电池[1],其结构主要由热电池原件(电堆)、外壳体及保护结构(电池壳、电池盖)、激活机构(电连接器与电路)、以及保温系统(散热层和绝缘层)组成,其中电堆是核心部件。热电池具有超长储存寿命、极高的固有可靠性、毫秒级快速激活能力、优异的高功率输出特性以及对极端环境(如超低温、强冲击振动)的卓越适应性等特点。正因这些难以替代的综合性能优势,热电池在冷战阶段伴随着导弹技术的迫切需求而实现工程化应用,并且始终在军事与航天领域中扮演着重要角色[2]。随着军工领域的不断发展,对热电池的需求量不断增长,目前国内大部分生产仍依赖人工装配搭配简易工装,这种生产模式存在效率低、产品合格率不理想等问题,难以匹配日益增长的现代化军事装备对热电池大批量、高一致性供应的严格要求,成为亟待突破的产业瓶颈。在此背景下,设计一款高效自动的新型热电池电堆装配机构具有非常重要的现实意义。

近年来,随着精密制造与自动化装配技术的发展,薄片类金属件的弯折与贴合工艺逐渐成为许多高可靠能源系统中的关键工序[3]。国内外学者围绕精密弯折过程中的力学行为、塑性成形规律以及成形缺陷控制开展了大量研究;针对电子器件与电芯的自动化装配,已有研究引入柔性压制机构、从动轮结构及顺应控制策略,以提升弯折精度与重复性[4]

本文针对热电池电堆自动化装配过程中的极线弯折环节设计了一种通过带有缓冲装置的凹面压轮机构实现极线压平在天然云母围子与人造云母片上的新型弯折机构。该机构利用凹面压轮与电池体接触,将电堆中点燃片上焊有的极线压平在天然云母片上并通过缠绕聚酰亚胺胶带加以固定,同时加装的缓冲装置能够保证包裹在电堆表面的人造云母片不会受力过大发生碎裂或者变形[5]。在避免了人工装配时出现的精度不足等问题的同时提高了整体效率,满足了批量需求。

2. 极线弯折机构结构功能分析

引线弯折模块是热电池缠绕机构中的关键组成部分,其主要功能是实现极线的弯折与贴合,使正、负极引线能够平整弯折并紧贴于电堆表面。该模块需保证引线几何形状准确,防止弯折过程中出现翘曲、扭转或歪斜等现象,从而确保引线与电堆表面的贴合平整度和导电可靠性;同时在弯折之前需要在极线与电堆之间放置天然云母片以确保隔离效果良好。针对引线易发生翘曲、加装天然云母片后易偏折等问题[6],引线弯折机构采用了带有缓冲结构的凹面压轮作为核心执行元件,以实现对引线的柔性控制与稳定压合。该机构被布置于电堆装配单元的关键位置,通过合理的机械布局与精密的运动控制,使压轮能够沿设定的轨迹进行下压并逐步将引线弯折并压平在电堆表面;同时缓冲机构的设置还能够适应不同规格的电堆来应对不同需求,提高了系统的适用性。

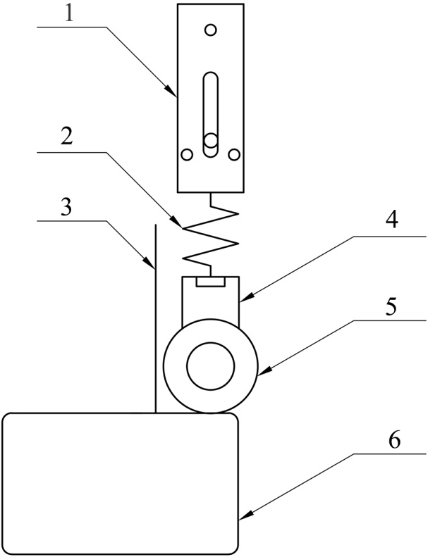
图1所示,极线弯折机构主要由凹面压轮、极线弯折杆、缓冲弹簧以及极线弯折挡叉构成。其主要功能是针对已包裹住人造云母片的电堆,通过步进电机控制的电动推杆驱动凹面压轮将电堆上的极线压平,其中极线弯折杆机构中设计有缓冲装置以避免因压力过大导致的电堆变形,在弯折之前需要在极线和缠绕完云母片的电堆之间加入天然云母片,使一端与极线根部靠齐并且紧贴于电堆表面后开始进行极线弯折。这一过程的前提是在凹面压轮下压到电堆时,电堆本身需要保持固定,不发生径向滑动,否则会导致电堆整体结构错位,直接影响弯折精度与电堆后续性能。

1. 挡叉板 2. 缓冲弹簧 3. 极线 4. 极线弯折杆 5. 凹面压轮 6. 电堆。

Figure 1. Schematic diagram of electrode tab bending

1. 极线弯折示意图

3. 极线弯折机构力学特性分析

3.1. 极线弯折的边界条件

在弯折工作进行前,电堆被装夹机构固定于皮带挡叉机构上,两端被 F =850N 的气缸固定住,故若想要让弯折时电堆不发生径向移动,凹面压轮的最大推力应小于装夹机构的最大静摩擦力 F fmax ,根据库仑静摩擦定律,两个接触物体间的最大静摩擦力仅与接触界面的正压力和静摩擦系数相关,考虑到电池片表面通常存在轻微粗糙度,且实际装配中可能存在保护膜与微量粉尘残留,参考同类电堆部件摩擦特性,设定电池片间的静摩擦系数 μ s 为0.35 [7],又因为接触部分在电堆中间,与未接触部分有两个接触面,故最大静摩擦力 F fmax 计算公式为:

F fmax =2× μ s × F (2-1)

计算得出最大静摩擦力 F fmax 为595 N。在实际装配过程中,电堆表面包裹有0.3 mm厚的人造云母片,同时接触部分有0.1 mm厚的天然云母片用以隔绝极耳和内部电池片,考虑到压轮半径R为12 mm以及凹面压轮接触长度L = 14 mm,将该接触简化为圆柱与刚性平面的Hertz线接触模型,通过计算云母层弹性压缩(即微量变形) δ 来判断两种云母片的摩擦力对电堆内部变形是否有影响,计算公式为:

δ= pt E = t 4E π E eq F N RL (2-2)

通过计算接触面的平均正向压强 p ,以及云母片的厚度 t 和云母材料的弹性模量,求得天然云母片的弹性压缩量 δ n =0.206μm ,人造云母片的弹性压缩量 δ a =0.617μm 。二者的变形量均远小于厚度,属于可以忽略的微量弹性压缩。

接触面平均剪应力 τ 可用来与材料的抗弯强度比较,从而判断云母是否被损坏;若 τ 远小于云母强度且 F f 远小于引起电堆变形的力,则可以将摩擦力忽略。接触面平均剪应力 τ 的计算公式为:

τ= F f A =μp= μ 4 π E eq F N RL (2-3)

其中摩擦系数 μ 取经验值0.09代入后得到平均剪应力 τ 为35 MPa,其中天然云母片与人造云母片弹性模量差异较小,在工程计算中可等效处理,云母片的典型抗弯强度在170~254 MPa,平均剪应力 τ 远小于云母的抗弯强度,因此摩擦不会破坏云母片,同时相比于使电堆产生变形的摩擦力,云母片的摩擦力几乎可以忽略,故径向最大推力即为最大静摩擦力 F fmax

3.2. 推力 F N 与圆角 r 的定量关系建模

在极耳弯折工艺中,凹面压轮轴向压弯动作是实现极耳弯曲成型的核心环节,而弯曲圆角的大小直接决定了极耳的装配精度与力学性能[8],圆角过小易导致极耳弯曲处应力集中,引发开裂或者疲劳失效;圆角过大则会影响电池整体结构的紧凑性,不能达到装配空间的精度要求。故需从金属弯曲变形机理出发,通过力学模型推导出应力应变关系及力矩平衡方程,最终得到推力 F N 与圆角 r 的关系。极耳材料为镍合金,是理想弹塑性体,故可忽略弹性恢复[9];极耳厚度 t 为0.15 mm,且弯曲过程中厚度不变,即厚度方向应变可以忽略,根据材料力学弯曲理论,极耳弯曲段任意点的正应力为:

σ= My ρ I Z (2-4)

其中 M 为弯曲力矩; y 为该点到中性层的距离, I Z 为极耳截面惯性矩;当极耳达到塑性屈服时,外边缘应力达到屈服强度 σ s ,则极限弯矩应为:

M lim = σ s I Z t 2 = σ s b t 2 6 (2-5)

凹面压轮下压时,推力 F N 对弯曲中性层的力矩需平衡极限弯矩 M lim 。此时由推力作用点到中性层力臂 L=ρsinθ (其中 ρ=r+ t 2 ),力矩平衡方程为:

F×L= M lim (2-6)

代入整理可得出推力 F N 与圆角 r 关系为:

F= σ s b t 2 6( r+ t 2 )sinθ (2-7)

通过金属弯曲塑性变形理论,建立了凹面压轮推力 F N 与极耳弯曲外圆角半径 r 的定量关系公式,该公式揭示了推力 F N 与圆角 r 成反比关系,同时确定了推力的最大上限值,以确保极线弯折过程中不会对电堆整体结构造成破坏,为后续工艺实施提供了可靠的理论依据。

4. 基于Abaqus的动力学仿真

通过有限元软件Abaqus构建热电池电堆极线弯折过程的动态仿真模型以模拟凹面压轮弯折极耳的全过程,分析极线的应力分布和应变分布以及弯折效果。通过仿真结果验证该弯折机构是否能够实现预期的压弯状态,为工艺设计提供理论依据。

4.1. 电堆极线弯折机构简化模型建立

热电池电堆在弯折过程是集结构约束、接触作用与塑性变形于一体的复杂力学过程,为保证计算精度与效率平衡的前提下,重点关注弯折效果,以“极线压弯成形效果”为核心目标,忽略对弯折过程无显著影响的次要结构(如电堆表面非接触区域的微小凸起、极线端部非受力倒角等);忽略云母片与极耳、压轮间的微弱摩擦,简化接触算法的同时避免冗余计算。将电堆简化为一个刚性圆柱体,忽略电池体内电解液腔体,将电堆本体视为连续均匀的实体结构。半径设定为12 mm,高度为40 mm;极耳片为焊接在电堆极耳片中的细长条,长度为40 mm,厚度为0.15 mm,宽度为2.5 mm,极耳表面设为光滑面,与实际极耳的机械加工精度一致,避免因表面粗糙度引入额外的摩擦干扰。凹面压轮的曲率半径为25 mm,宽度为16 mm,极耳与压轮的材料参数如表1所示。

Table 1. Material parameters

1. 材料参数表

部件

材料

密度/kg∙m3

弹性模量/Gpa

泊松比

屈服强度/Mpa

极耳片

镍基体合金

7850

200

0.3

880

压轮

ABS树脂

1050

2

0.394

80

在几何建模基础上,为确保仿真能够准确反映极耳的弯曲与塑性变形行为,本研究对模型采用差异化的单元类型与网格划分策略。极耳厚度仅为0.15 mm,属于典型薄片结构,因此采用四节点减缩积分壳单元S4R,以获得更高的弯曲精度;电堆和压轮作为整体刚性结构,采用三维八节点实体单元C3D8R进行离散。为提高网格质量并保持六面体网格为主的结构,电堆与压轮在划分前进行了必要的几何切分。网格尺寸方面,电堆与压轮均采用1 mm网格,而极耳变形区域进行适当加密,以捕捉应力集中与圆角成形细节。上述单元类型与网格划分策略能够在保证计算精度的同时显著提升求解效率,为后续动力学仿真提供稳定可靠的数值基础。运动路径采用两段式复合运动,第一阶段即下压阶段,沿z轴负方向移动,直至凹面与电堆表面接触;第二阶段为轴向移动阶段,沿x轴正方向移动,位移40 mm,直至将极耳压弯。简化后的模型如图2所示。

Figure 2. Simplified model of the electrode tab bending mechanism

2. 极线弯折机构简化模型

为确保有限元仿真可靠性,本研究对极耳弯折模型进行了网格收敛性分析。以最大等效应力、塑性区范围及圆角半径变化为判据,通过逐步细化局部网格并对比不同密度下的计算结果,评估网格尺寸对仿真输出的影响。结果表明,随着网格细化,应力峰值位置、塑性分布及成形几何保持稳定,求解器收敛良好,各特征量变化逐渐趋于平缓,说明模型结果已基本与网格无关。由此可知,本研究所选网格密度兼顾了计算精度与效率。

4.2. 接触约束及初始载荷

在热电池极线电堆弯折机构设计中,接触约束是保障仿真中各部件间力学行为传递准确性的核心,为准确模拟弯折过程中各件间的相互作用,本研究应采取多种接触方式与约束方法进行建模[10]。极耳由于厚度较小,选用壳单元进行网格划分,能够较好地捕捉其弯曲与压缩行为。电堆采用稀疏网格,仅起到约束作用。压轮作为刚体,不参与网格划分,仅通过几何边界与接触对进行交互。为真实模拟弯折过程,压轮与极耳之间采用面对面接触(surface-to-surface),接触算法采用有限滑移形式。法向行为设为硬接触,即允许接触分离但不允许穿透。切向行为采用基于惩罚函数的库伦摩擦模型,摩擦系数设为 μ=0.2 ,以近似表示电堆与压轮之间的摩擦特性。极耳与电堆中薄片连接处采用Tie约束,使二者在接触区域内完全绑定,等效模拟焊点固定。

仿真工况分为两个阶段:其一是下压阶段,在此阶段,压轮参考点沿竖直方向施加位移边界条件,使其向下运动至接触前的工作位置;其二是横移阶段,保持竖直位移不变的前提下,对凹面压轮参考点施加水平方向位移,使压轮沿极耳表面横向滚压。在该阶段,压轮与极耳发生接触并对其产生塑性压弯,同时由于压轮为刚体,其横向运动过程中能够发生滚动,从而真实再现实际的工艺条件。圆柱体电堆在整个过程中固定不动,其底部与外壁施加全约束边界条件,防止平移和转动。

4.3. 仿真结果分析

通过对不同压力条件下的有限元仿真结果进行对比分析,von Mises等效应力分布图如图3。如图可以清晰地看出压轮载荷对极耳及焊接区域应力分布的显著影响。首先,当下压力较小时,极耳与压轮接触区的等效应力主要集中在焊接极耳与薄片结合处,尽管应力水平已超过屈服强度,材料进入塑性变形阶段,但其分布相对均匀,应力集中区域较小,整体成形较为稳定。随着下压力的增大,接触界面的等效应力峰值显著上升,塑性区范围逐渐扩展,焊接薄片与极耳局部区域出现更强烈的应力集中现象。此外,仿真结果还表明,过小的下压力可能会导致成形不充分,极耳难以被压平;过大的下压力则易引发材料损伤与界面不稳定。因此,合理选择载荷区间对于实现极耳的稳定压平成形至关重要。

(a) 下压力10 N时应力分布图 (b) 下压力20 N时应力分布图

Figure 3. Von Mises equivalent stress distribution diagram

3. Von Mises等效应力分布图

通过提取位于截面平面内的离散点,并在该点集上用圆拟合,得到不同推力( F 1 =10N F 2 =20N )下圆角半径为 r 1 =0.21mm r 2 =0.07mm ,与理论计算值偏差为35.9%,但处于工艺要求范围内。此外应力分布无过度集中,说明弯折时的下压力与弯折方式并未引发明显的屈服变形风险,整体效果处于合理范围之内。推力的增大使圆角减小也验证了前文公式的正确性,同时弯折后的极耳与电堆之间也实现了良好的贴合,满足热电池缠绕的工艺需求。

5. 极线弯折效果分析

为验证极线弯折机构设计方案的可行性与工程实用性,围绕使极耳平整贴压于电堆表面的核心目标开展了实际弯折实验,并对弯折效果进行全面分析。实验采用气缸搭配工装将圆柱体电堆固定,通过压力传感器实时监测装夹力,确保达到850 N的工艺要求。启动步进电机控制极线弯折机构沿水平50˚下压至与极耳表面接触,保持压轮竖直位置不变,沿电堆轴向移动40 mm,过程中压轮沿极耳表面滚动,实现极耳的塑性弯曲[11]

弯折过程中电堆与压轮在机构中的状态如图4所示,可见极耳与焊接点连接稳固,未出现脱落或者形变情况,无开裂现象;轴向对正,无偏移错位,确保了压弯过程的准确性。极线弯折完成后拆卸下的样品如图5所示,从图中可以看出极耳整体贴合于电堆表面,无明显褶皱或翘曲现象,焊接点未出现脱落或变形,极耳边缘与电堆轴线平行度误差在允许范围内[12];同时天然云母片与人造云母片均保持完整,无碎裂、划痕。

Figure 4. Schematic diagram of the electrode tab bending process

4. 极线弯折过程示意图

Figure 5. Electrode tab bending effect diagram

5. 极耳弯折效果图

结合理论模型与仿真结果,在此次实验中选择合适的初始下压力与摩擦参数,以保证弯折过程中极耳和云母片不被损坏。弯折后的结构状态符合工艺要求,验证了模型的可行性与工程实用性。

6. 结论

本文围绕热电池电堆极线弯折机构的设计与性能验证,通过系统的力学分析、Abaqus动力学仿真及实物实验等一系列的系统性研究。针对现有热电池装配过程中存在的效率低、精度差等问题,提出了一种新型极线弯折机构。

1) 在理论建模方面,基于库伦静摩擦定律推导的装夹力,结合金属弯曲塑性变形理论建立了极耳弯折力矩平衡方程,同时定量分析了极耳与云母片对于弯折过程中造成的实际影响,推导出压轮推力与极耳圆角半径的关系。

2) 使用Abaqus动力学仿真实现了机构性能的预验证与参数优化,仿真结果锁定了下压力的最优区间,表明弯折结构能够在工艺要求的条件下实现有效的弯折。

3) 通过搭建实验平台开展实际弯折实验。实验结果表明,弯折后的极耳平整贴压于电堆表面,云母片无碎裂,与仿真结果高度一致,进一步验证了本文方案的可行性与实用价值。

基金项目

辽宁省应用基础研究计划项目(2022JH2/101300254);辽宁省属本科高校基本科研业务费专项资金资助。

NOTES

*第一作者。

#通讯作者。

参考文献

[1] 王传东, 刘勇, 石治国. 军用电池技术现状[J]. 电源技术, 2016, 40(10): 2098-2099.
[2] 张春晓, 穆仕博. 热电池在空空导弹上的应用及发展趋势[J]. 电源技术, 2010, 34(6): 614-615.
[3] 王思超, 王晓东, 赵鑫炜, 等. 模块化微小零件精密装配自动化设备研制[J]. 机械制造与自动化, 2024, 53(6): 201-204, 210.
[4] 赵宗圣, 程金石, 吴泓达, 田思灿, 张涵. 机器人的力控制技术研究及应用进展[J]. 人工智能与机器人研究, 2023, 12(4): 292-300.
[5] 田雯, 刘国强, 王正仁, 等. 热电池生产制造过程中的环境影响分析[J]. 化工设计通讯, 2021, 47(2): 146-147, 178.
[6] 李子洋, 史春景, 郝永平, 等. 热电池保温棉自动缠绕控制系统的设计[J]. 上海电气技术, 2025, 18(2): 66-70.
[7] 张磊, 尹力涵, 徐兵, 等. 生产线缓冲包装机构设计[J]. 河南科技, 2022, 41(8): 47-50.
[8] 宁文新. 热电池自动装配控制系统的研究[D]: [硕士学位论文]. 沈阳: 沈阳理工大学, 2023.
[9] 崔烘槊. 热电池自动装配技术的研究[D]: [硕士学位论文]. 沈阳: 沈阳理工大学, 2021.
[10] 廖斌, 张流锟, 吴晓东, 等. 6005A铝合金薄壁型材压弯成形有限元分析及试验[J]. 锻压技术, 2023, 48(1): 128-135.
[11] 牛文婷, 张志勇, 王晓东, 等. 面向生产线的全自动微小零件装配系统研制[J]. 内燃机与配件, 2019(7): 17-20.
[12] 侯虹, 张春晓. 热电池可靠性的设计和评估[J]. 航空兵器, 2001(2): 22-25.