柔性组合夹具在焊接组件加工中的应用研究
Research on the Application of Flexible Modular Fixtures in the Machining of Welded Assemblies
DOI: 10.12677/jast.2026.141002, PDF, HTML, XML,   
作者: 时晓钊, 卢一玮, 龙 强, 韩达稳, 李 建, 时晓铭*:四川航天川南火工技术有限公司,四川 泸州
关键词: 焊接件柔性组合夹具Welded Parts Flexibility Modular Fixture
摘要: 焊接组件在氩弧焊过程中不可避免会发生变形,影响产品对外连接尺寸的质量。本文通过对产品结构及接口尺寸进行分析,改进现有加工工艺方法,结合理论计算结果设计专用柔性组合夹具,确保焊接后产品装夹定位的准确性、稳定性。研究结果表明:柔性组合夹具可以有效固定异形焊接组件,为外连接尺寸调整到焊接后加工做支撑,规避外连接尺寸在焊接过程中的变形问题,提高产品合格率。
Abstract: Deformation is inevitable during the argon arc welding of welded assemblies, which compromises the dimensional quality of external connections. By analyzing the product structure and interface dimensions, this paper proposes an improved machining process and designs a specialized flexible modular fixture based on theoretical calculations to ensure the accuracy and stability of clamping and positioning after welding. The results demonstrate that the flexible modular fixture effectively secures irregularly shaped welded assemblies, thereby supporting the adjustment of external connection dimensions to post-weld machining. This approach successfully mitigates deformation issues of external connection dimensions during welding and significantly improves product qualification rates.
文章引用:时晓钊, 卢一玮, 龙强, 韩达稳, 李建, 时晓铭. 柔性组合夹具在焊接组件加工中的应用研究[J]. 国际航空航天科学, 2026, 14(1): 8-14. https://doi.org/10.12677/jast.2026.141002

1. 引言

焊接组件广泛应用于分离结构火工装置,为级间分离提供反向推力。典型焊接组件一般由喷管和法兰盘采用氩弧焊焊接的方式进行连接。机加工艺一般先分别生产喷管和法兰盘,再通过氩弧焊将二者焊接在一起,由于在焊接时受到加热及冷却过程影响[1]-[3],焊接组件的法兰盘会发生局部变形,工艺上一般通过后续平磨工序保证法兰盘对外连接面的平整度,再经过检测工序及镀覆完成产品加工。但批次性生产过程中部分零件由于焊接过程变形严重,会导致法兰盘面上的密封环形槽和安装螺纹孔深度发生尺寸超差,影响对外连接性能,进而引发焊接组件质量问题。

2. 焊接组件工艺路线的优化

焊接组件加工工艺路线如下图1所示,传统机加工艺路线分别先加工法兰盘与喷管,经焊接成组件后再对部分加工面和外连接尺寸进行加工,焊接组件的平磨工序用于将焊接后的法兰盘端面平整处理,焊接组件的镗铣工序用于加工焊接后法兰盘端面的对外连接孔。除了上述法兰盘端面和对外连接孔外,法兰盘端面还涉及放置密封圈的椭圆形环形槽,密封圈的压缩性能指标对环形槽宽要求较高且还存在一定深度。在加工环形槽时,法兰盘受到横向和纵向切削力较大,且传统工艺装夹方法缺乏该两个方向的有效支撑,故传统机加工艺路线将环形槽确定在法兰盘零件级加工,致使该工艺路线存在焊接后外连接尺寸变形的风险。

Figure 1. Optimization scheme of process route for welded assemblies

1. 焊接组件工艺路线优化方案

综上所述,要想彻底解决对外连接尺寸在焊接过程中变形超差问题,需将对外连接尺寸加工工序内容后置到焊接后,图1所示为优化后的工艺路线,新路线将重点围绕焊接组件的装夹问题开展工作。

3. 柔性组合夹具的设计

3.1. 柔性组合夹具主体框架设计

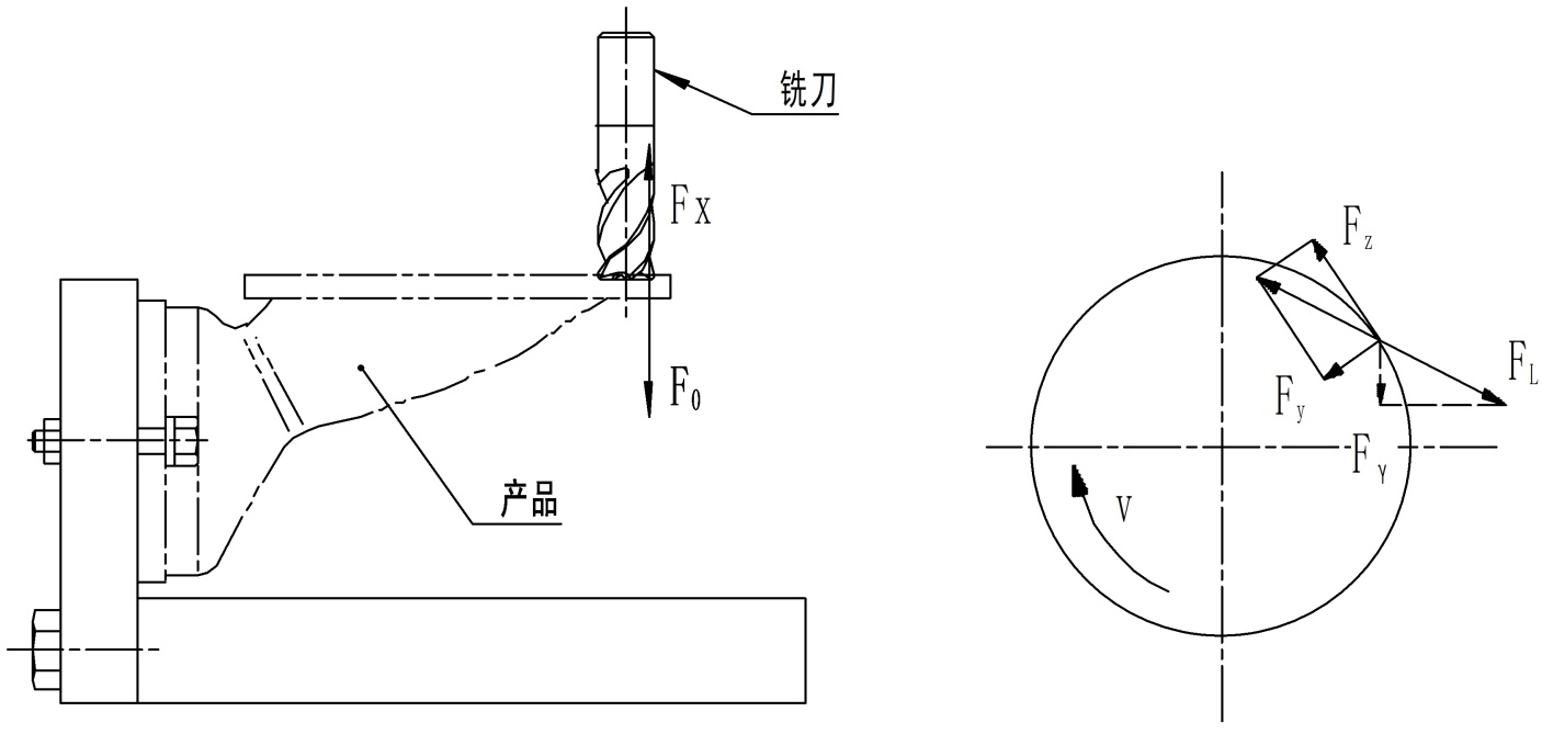
镗铣工序的加工设备一般是立式加工中心,刀具悬于工作台上方产品固定在工作台上,加工法兰盘端面各要素需将焊接组件平稳固定,柔性组合夹具设计示意图见图2所示(1. 侧板,2. M8螺栓,3. M16螺栓,4. 定位销1,5. 定位销2,6. 底板,7. 柔性装置,8. 盖板,9. 连接螺栓,10. 压板,11. 螺母)。夹具主体由底板和侧板搭建而成,材料选择30 mm厚度的45#钢板可以保持足够的刚性。焊接组件通过支耳孔上螺栓固定在侧板,保证焊接组件水平方向的限位。由于喷管外形为不规则锥面结构,夹具须采用柔性装置贴合喷管锥面支撑,能够限制异形焊接组件横向力的同时提供垂直方向的支撑力。

Figure 2. Schematic diagram of the overall design of the flexible modular fixture

2. 柔性组合夹具总体设计示意图

3.2. 柔性装置的确定

柔性夹具一般根据不同形状、材质、尺寸、驱动方式等方面分划分为近百种标准模块[4],标准柔性夹具如图3所示,夹具的上端为可以独立回弹的销子,中间设置了锁紧旋钮,下端设置了清洁接口。工作原理如下:锁紧旋钮打开时,每根销子受到内置弹簧弹力作用分布在行程最高平面,在产品贴近过程中销子会被压下成型,锁紧旋钮关闭后销子会保持贴合产品表面状态,在产品加工过程中受到垂直方向作用力时,锁紧的每根销子会提供有效的支撑力。同时,清洁接口可接入干净的压缩空气或者切削液,在柔性家具的使用过程中实现清洁作用。

Figure 3. Schematic diagrams and physical drawings of standard modules of the flexible fixture

3. 柔性夹具标准模块示意图及实物图

由于不同产品定制专用柔性夹具成本较高[5] [6],生产实际中需要根据产品结构设计辅助工装,限制销子的工作区域避免在加工过程中与产品加工面干涉。本文研究的法兰盘椭圆外形长轴为242 mm,短轴为160 mm,选取如下图4所示规格标准柔性夹具。主要参数如下:每根顶杆直径为φ6,顶杆行程为42 mm,顶杆支撑区域为30 mm × 141 mm (四区域),顶杆及弹簧数量为484支,锁紧方式为手动,每个区域可单独锁紧,每个弹簧抗力为(0~8) N。

Figure 4. Dimensioned drawings of the selected flexible fixture

4. 本文选取柔性夹具各尺寸附图

辅助工装设计根据焊接组件及柔性装置结构设计相关,本文压板设计见图5所示,阴影部分为压板实体部分,主要功能是遮挡部分柔性夹具销子,由图可知共计遮挡213根销子,图中共计271个销子处于工作状态。

Figure 5. Design drawing of the masking device for the flexible fixture

5. 柔性夹具遮挡工装设计图

4. 柔性装置的受力分析与强度校核

喷管和法兰盘的原材料均为圆钢PCrNi2Mo,属于铬镍钼类钢材。两个零件硬度范围为HRC30~35,根据相关标准[7]对应布氏硬度为HB283~323。焊接组件切削余量较大和受力较大的工序均为镗铣工序,该工序主要加工内容如下:1) 将焊接组件法兰盘面铣平,余量约1.2 mm,每次粗铣深度ap按0.5 mm控制,采用直径为φ10的4齿立铣刀进行加工,刀具转速为5000 r/s;2) 在平整的法兰盘面上加工槽宽为8 mm,槽深为5 mm的椭圆形环形槽,采用直径为φ8的3齿立铣刀进行加工,刀具转速为5000 r/s,受力如图6所示。

Figure 6. Force analysis diagram of the welded assembly during boring and milling

6. 焊接组件镗铣过程中产品受力分析图

根据公式 F z =9.81×11.9 a p 1.0 a f 0.75 a e 0.85 d 0 0.73 z n 0.13 60 0.13 k FZ [8],可以计算焊接组件在铣平法兰盘端面过程中的圆周分力,进而计算出垂直方向的切削力。

其中,ap为铣削深度(mm),是指平行于铣刀轴线方向的切削层尺寸;af为铣刀每齿进给量(mm/Z);ae为铣削宽度(mm),是指垂直于铣刀轴线方向的切削层尺寸;z为铣刀齿数;d0为铣刀外径(mm);n为铣刀转速(r/s); k FZ 为切削力修正系数。

经查相关手册[8],计算可得端铣法兰盘端面时圆周分力:

F zduan =9.81×11.9× 0.5 1.0 × 0.025 0.75 × 3 0.85 × 10 0.73 ×4× 5000 0.13 × 60 0.13 ×1.15=42.98N

故,垂直方向的切削力 F 0duan =( 0.50.55 ) F Zduan =( 21.4923.64 )N

根据公式 F z =9.81×11.9 a p 1.0 a f 0.75 a e 0.85 d 0 0.73 z n 0.13 60 0.13 k FZ [8],可以计算焊接组件在加工环形槽过程中的圆周分力,进而计算出垂直方向的切削力。

F zcao =9.81×11.9× 0.5 1.0 × 0.006 0.75 × 8 0.85 × 8 0.73 ×3× 5000 0.13 × 60 0.13 ×1.15=90.63N

故,垂直方向的切削力 F 0cao =( 0.350.40 ) F zcao =( 31.7236.25 )N

由3.2章可知,处于工作状态的柔性夹具销子数量为271个,每根销子最大可提供8 N力, F max =( 271×8 )N=2168N 。焊接组件实测重量为2.25 kg, G22.5N 。故 F max > F 0duan +G F max > F 0cao +G ,焊接组件在镗铣工序加工过程中受力均小于柔性工装支撑力,柔性夹具符合焊接组件支撑需求。

5. 小批量验证

投产小批量产品对柔性组合夹具进行验证,试验状态如下:法兰盘零件状态厚度留余量1 mm、环形密封槽未加工,焊接后采用柔性组合夹具支撑进行加工法兰盘安装面和环形密封槽。加工后对外连接尺寸及加工面外观进行100%全检,外连接尺寸均合格,加工面粗糙度通过粗糙度对比块对比满足要求;精加工面焊缝部位经着色检查均合格,产品按技术要求进行 0.5 0 0.1 MPa气压试验均合格。由于法兰盘加工面余量的增加存在影响焊接熔深影响焊接质量的可能,本次试验须对喷管组件的法兰盘焊缝部位进行剖切检查,实测法兰盘焊缝熔深,实测数据见表1

Table 1. Measured weld penetration data

1. 实测焊缝熔深数据

编号

法兰盘焊缝熔深(mm)

编号

法兰盘焊缝熔深(mm)

1-1#

2

2-1#

1.1

1-2#

1.8

2-2#

1

1-3#

1

2-3#

2.7

1-4#

1.5

2-4#

1

均值

1.57

均值

1.45

其中1-1#至1-4#采用的是柔性组合夹具加工的试验件,2-1#至2-4#采用的原工艺方法加工的试验件。从上表可以看出,两种工艺方案加工的喷管焊接组件的法兰盘上端面焊缝熔深最小值、均值基本一致。

6. 总结

本文通过对焊接组件工艺流程分析找出了影响法兰盘面对外连接尺寸的主要因素,确定了法兰盘、喷管及焊接组件机加过程的改进方案。根据产品结构选取了柔性夹具,设计了遮挡工装完成了柔性组合夹具,并进行了强度理论复核。最后,本文通过小批量试验验证,方案可行,有效提升了法兰盘安装面加工质量,控制了环形密封槽深度,保证产品对外安装连接及产品密封性的要求,直接经济效益显著。

NOTES

*通讯作者。

参考文献

[1] 石建武. 焊接工艺对不锈钢焊接变形的影响[J]. 城市建设理论研究, 2015, 5(32): 2095-2104.
[2] 马强, 丁发, 刘士朝, 梁杰, 王晓. 平衡梁多层多道焊接应力变形数值模拟研究[J]. 焊接技术, 2025, 54(11): 9-15.
[3] 钟齐健. 钢结构焊接应力和变形的控制措施[J]. 中华建设, 2023(8): 160-162.
[4] 田川, 董欢欢. 柔性夹具及其设计方法[J]. 煤矿机械, 2022, 43(11): 109-111.
[5] 潘豪. 通用柔性工装夹具定位和夹紧设计[J]. 自动化应用, 2024, 65(3): 149-151.
[6] 龚晶晶. 车身制造柔性工装技术及应用[J]. 时代汽车, 2025(8): 127-129.
[7] 中国计量科学研究院. GB/T1172-1999 黑色金属硬度及强度换算值[S]. 北京: 中国标准出版社出版, 1999.
[8] 李洪. 机械加工工艺手册[M]. 北京: 北京出版社, 1990: 578-626.